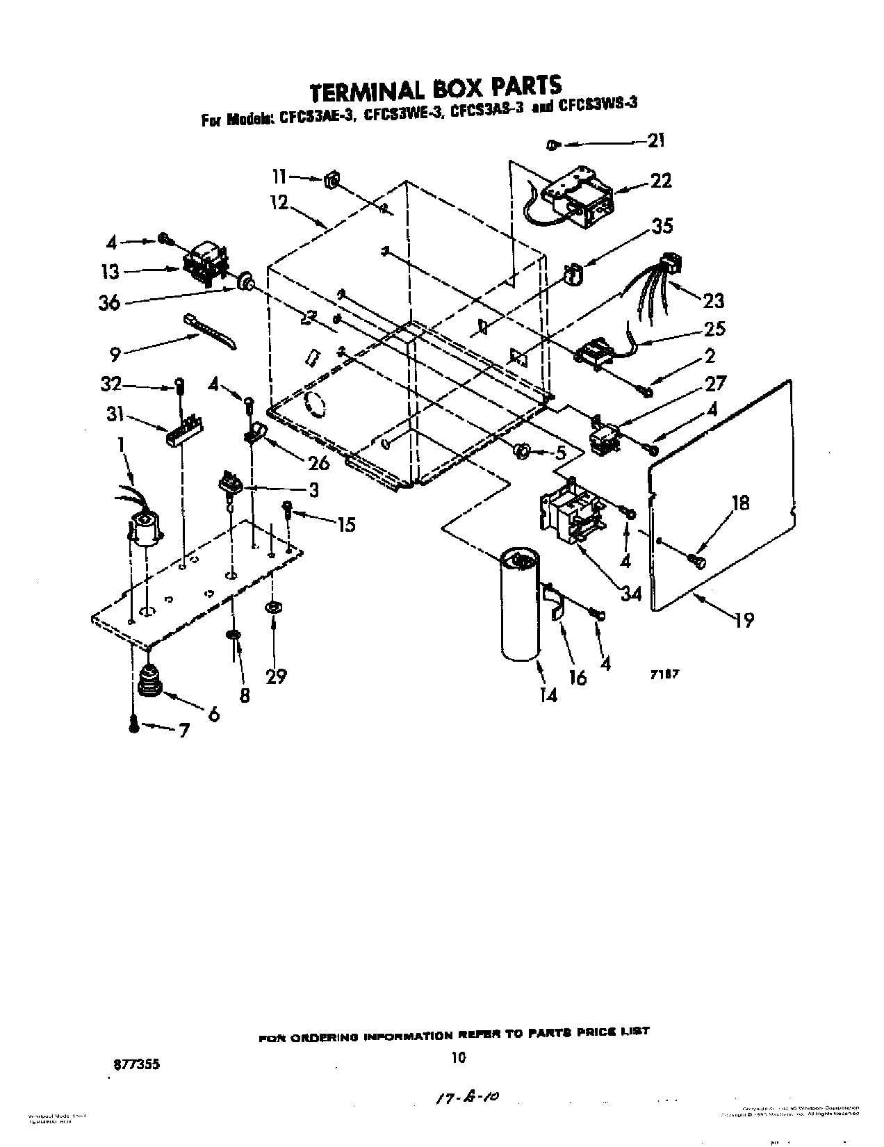
CFCS3WE3 07 – TERMINAL BOXadmin2025-04-26T09:35:31+00:00CFCS3WE3 07 – TERMINAL BOX
Products
| Position | Product |
|---|
| 1 | Receptacle, Fustat |
| 2 | WP313808 Whirlpool Screw |
| 3 | Switch, Service |
| 4 | WP90767 Whirlpool Screw |
| 5 | Bushing, Snap |
| 6 | Fustat, 8 Amp |
| 7 | Screw, 10-32 x 3/8 (2) |
| 8 | Nut, Switch (2) |
| 9 | WPW10339879 Whirlpool Wire Tie |
| 11 | Grommet |
| 12 | Terminal Box (Not a Serviceable Part) |
| 13 | Transformer (14.25 V) |
| 14 | Capacitor, Start |
| 15 | Screw (Compressor Ground) |
| 16 | Clamp, Capacitor |
| 18 | WP488787 Whirlpool Refrigerator Screw |
| 19 | Cover, Terminal Box |
| 21 | Clip |
| 22 | Switch, Hi-Pressure (CFCS3WE-3) |
| 23 | Harness, Control |
| 25 | Thermostat, Bin Control |
| 26 | Clamp, Wire |
| 27 | Relay, Compresor Start |
| 29 | Bushing, Snap (4) |
| 31 | Terminal Board |
| 32 | Screw, 8-32 x 5/8 |
| 34 | Relay, Defrost Control |
| 35 | Retainer, Wire |
| 36 | Bushing, Snap |