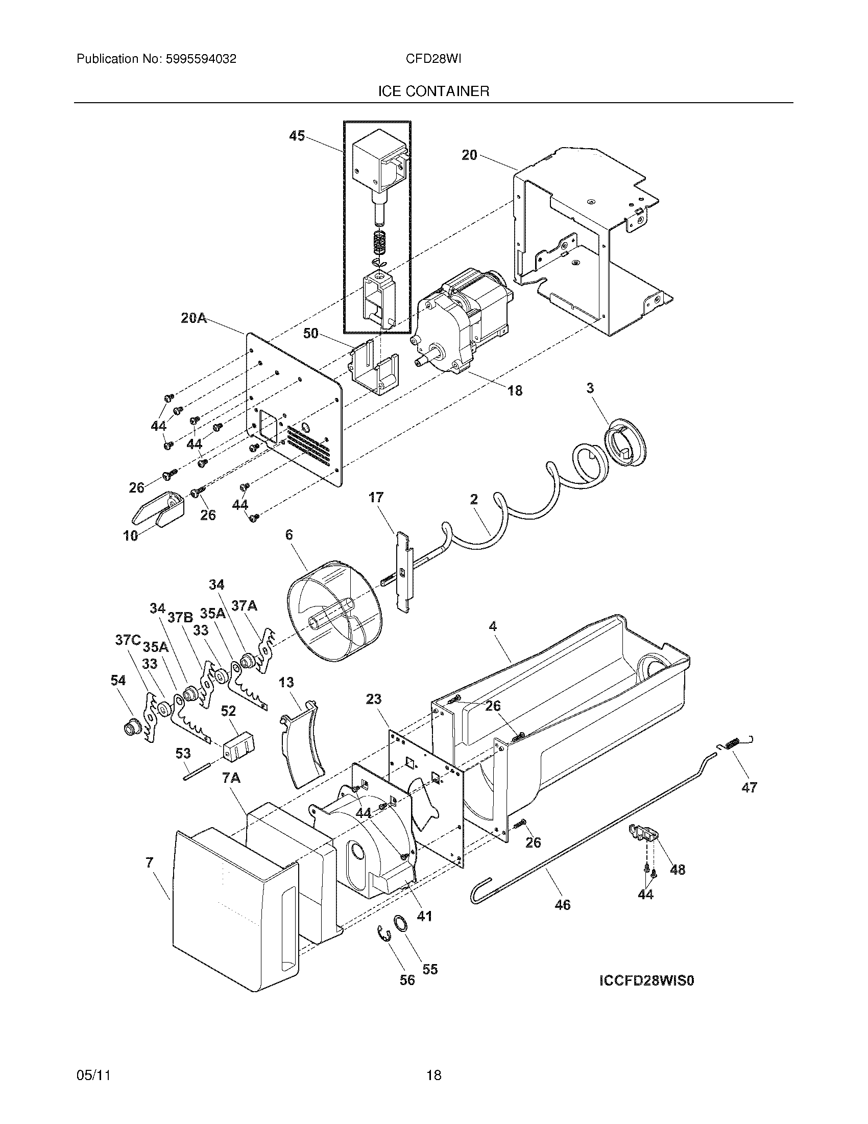
CFD28WIS1 15 – ICE CONTAINERadmin2025-04-26T08:51:09+00:00CFD28WIS1 15 – ICE CONTAINER ProductsPositionProductNIWCI 242007101NIWCI 241843301NIWCI 241829303NIWCI 2420306012AUGER-ICE3CAM-DRIVE4241816801 Frigidaire Refrigerator Ice Container6241829802 Frigidaire Drum Ice Dispenser7AWCI 2418442017WCI 24182970210241829001 Frigidaire Refrigerator Bar Drive13WCI 24182990117DRIVE BLADE18241816602 Frigidaire Refrigerator Motor-AUGER20WCI 24182890120AWCI 24184310123241829501 Frigidaire Refrigerator Plate-Front26241690602 Frigidaire Refrigerator Screw33241684802 Frigidaire Refrigerator Spacer34241689802 Frigidaire Refrigerator Spacer35AFIXED BLADE, ROUND37ABLADE, CRUSHER #137BBLADE, CRUSHER #237CBLADE, CRUSHER #341WCI 24183000144218359202 Frigidaire Refrigerator Screw45241675704 Frigidaire Refrigerator Solenoid Assembly46CONTROL ROD47241839001 Frigidaire Refrigerator Spring-Control Rod48241830101 Frigidaire Refrigerator Bracket-Control50241675601 Frigidaire Refrigerator Solenoid Guide52SPACER-FIXED BLADES53241869601 Frigidaire Refrigerator Pin54241829601 Frigidaire Refrigerator Nut-Auger55241690306 Frigidaire Refrigerator Washer56241690201 Frigidaire Refrigerator E-Ring