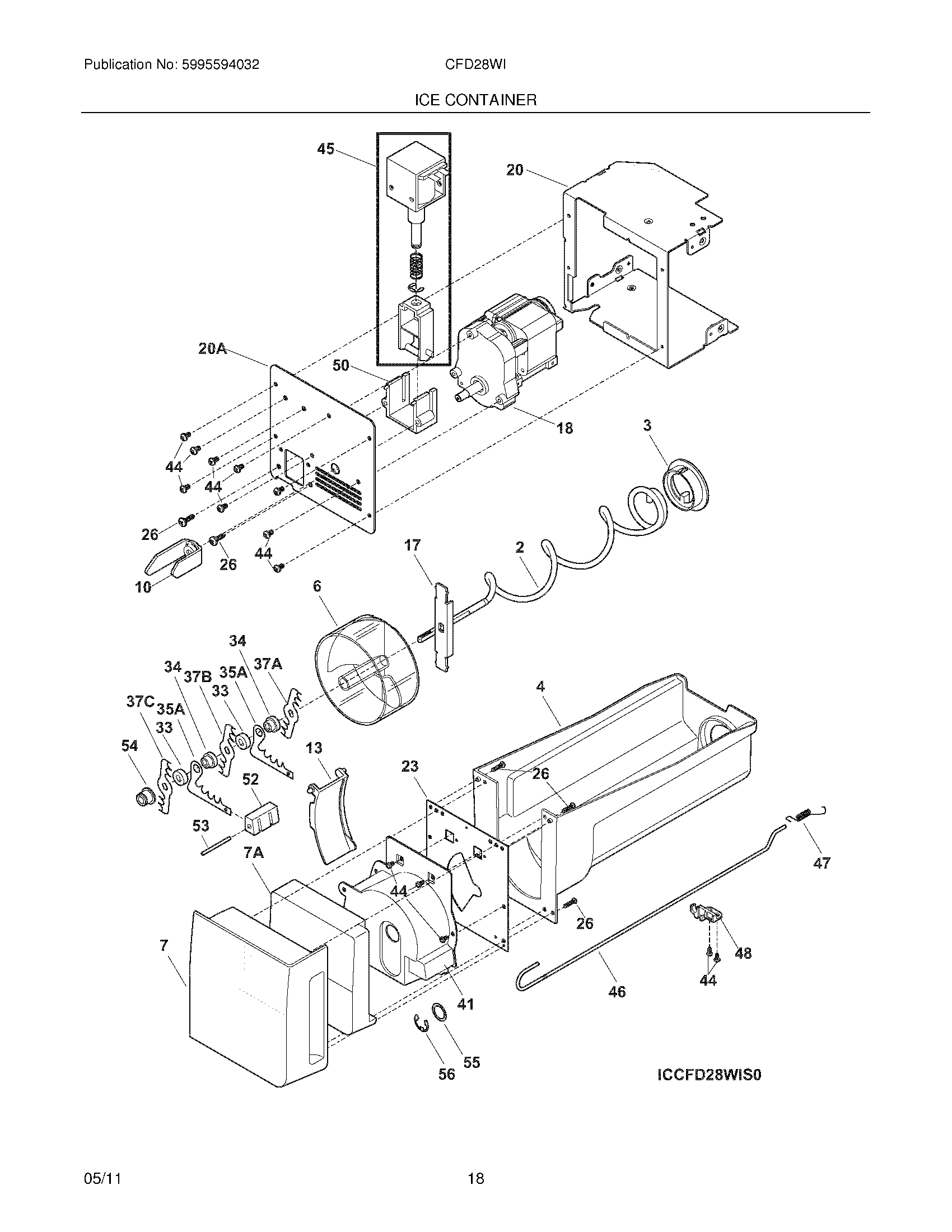
CFD28WIS2 15 – ICE CONTAINER