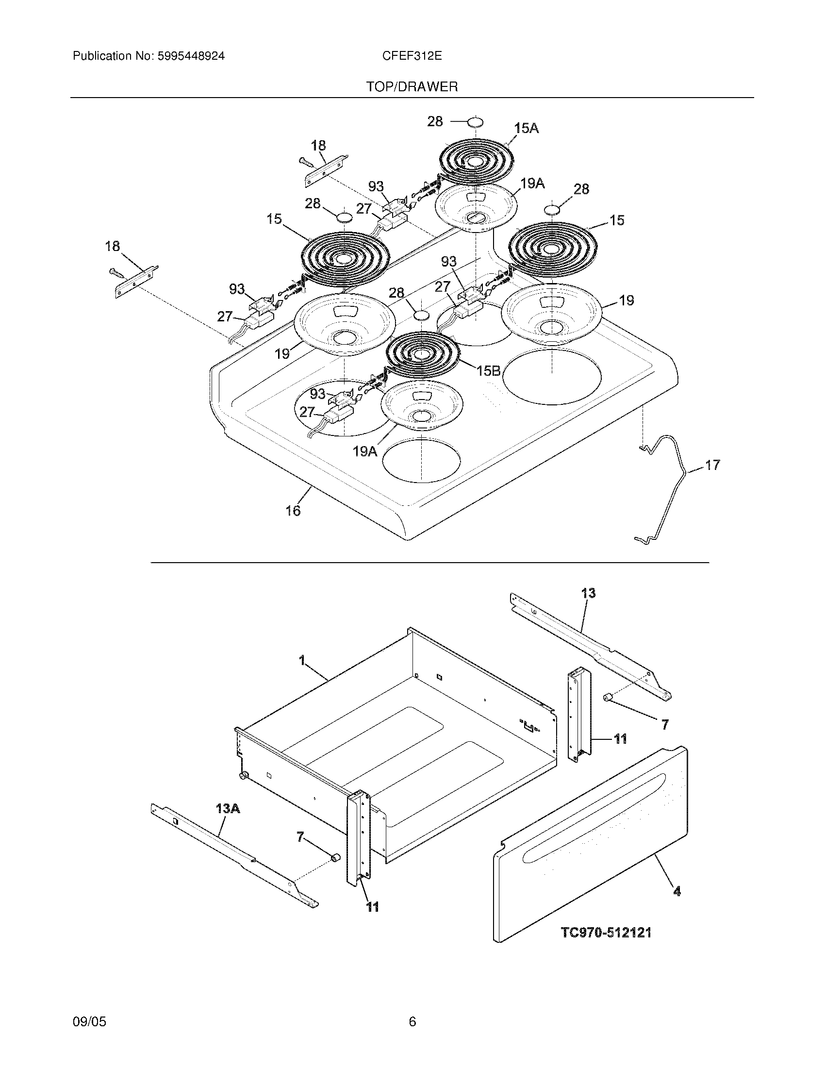
CFEF312EQ1 07 – TOP/DRAWERadmin2025-04-26T08:49:44+00:00CFEF312EQ1 07 – TOP/DRAWER ProductsPositionProductNI5303300265 Frigidaire Oven ScrewNISCREW,TRUSS HEAD,8-18 X 0.375NI5304453707 Frigidaire Oven ScrewNIWCI 5303325171NI5303211311 Frigidaire Refrigerator ScrewNI5303323137 Frigidaire Oven ScrewNIWCI 31801480015304505701 Frigidaire Drawer Body with Roller4WCI 3183030027318332211 Frigidaire Oven Roller11WCI 31831150113WCI 31801810013AWCI 31801810115316442303 Frigidaire Oven Element15A318372211 Frigidaire Oven 6" Electric Range Burner Kit15B316439802 Frigidaire Surface Element Assembly16WCI 31806578417WCI 31811910018WCI 31807441019A316222301 Frigidaire Oven 8" Porcelain Drip Bowl Range19AA316222201 Frigidaire Oven Drip Bowl Assembly27WCI 31822342827WCI 318223429285303017715 Frigidaire Medallion28MEDALLION, STAINLESS STEEL, SURF ELEM93WCI 318122500