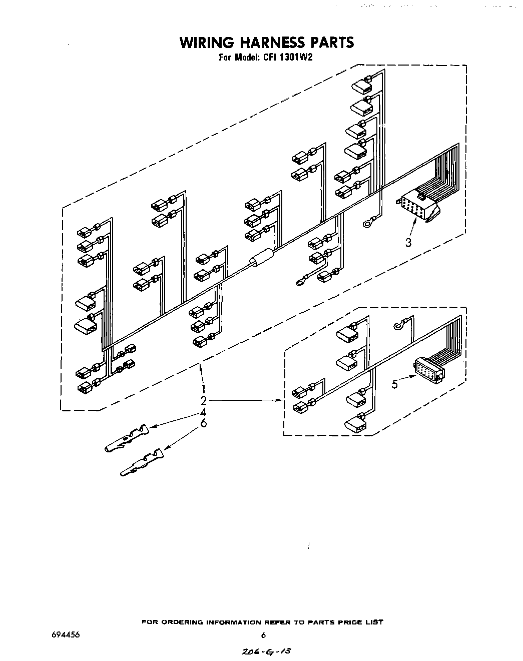
CFI1301W2 05 – WIRING HARNESSadmin2025-04-26T09:39:58+00:00CFI1301W2 05 – WIRING HARNESS ProductsPositionProduct1Harness, Gas (Lower)2Harness, Switch3Plug, Terminal (15 Way) (Use Terminal 96413)4Terminal5Cap, Terminal (15 Way) (Use Terminal 97452)6Terminal