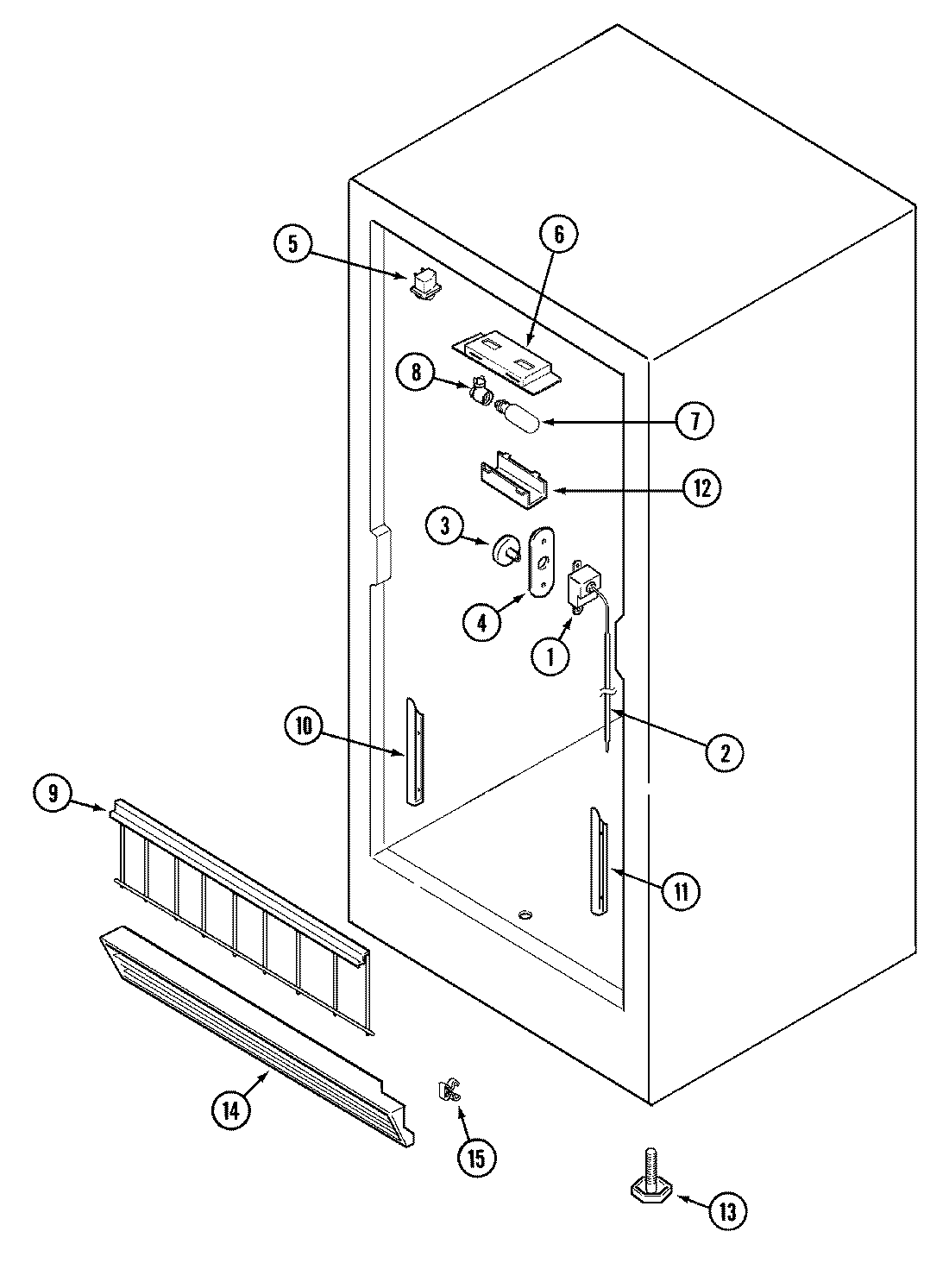
CFU1236GRW 02 – FREEZER COMPARTMENT