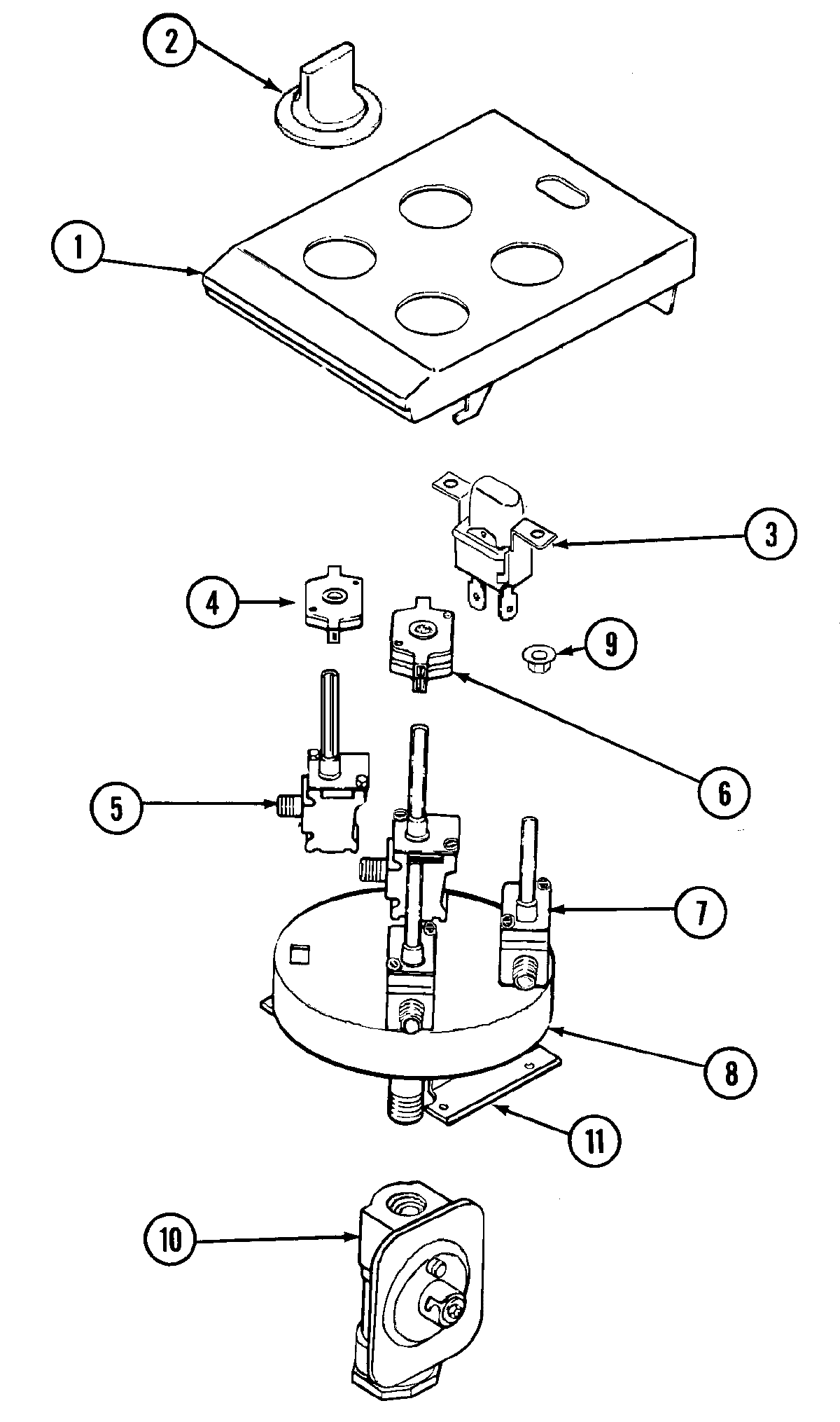
CG206B-E 04 – CONTROL ASSEMBLYadmin2025-04-26T08:57:58+00:00CG206B-E 04 – CONTROL ASSEMBLY ProductsPositionProduct1MAY 7045032MAY Y7051372MAY 7054373MAY Y7045734WPY704512 Whirlpool VA Switch5MAY 7045045WP7502P382-60 Whirlpool Burner Valve6WPY704513 Whirlpool Oven Igniter Switch7MAY Y7045057WPY04100188 Whirlpool Burner Valve8MAY 7045568MAY 7124708MAY Y7122739MAY 70546010MAY 70509810MAY 70540711MAY 71001642