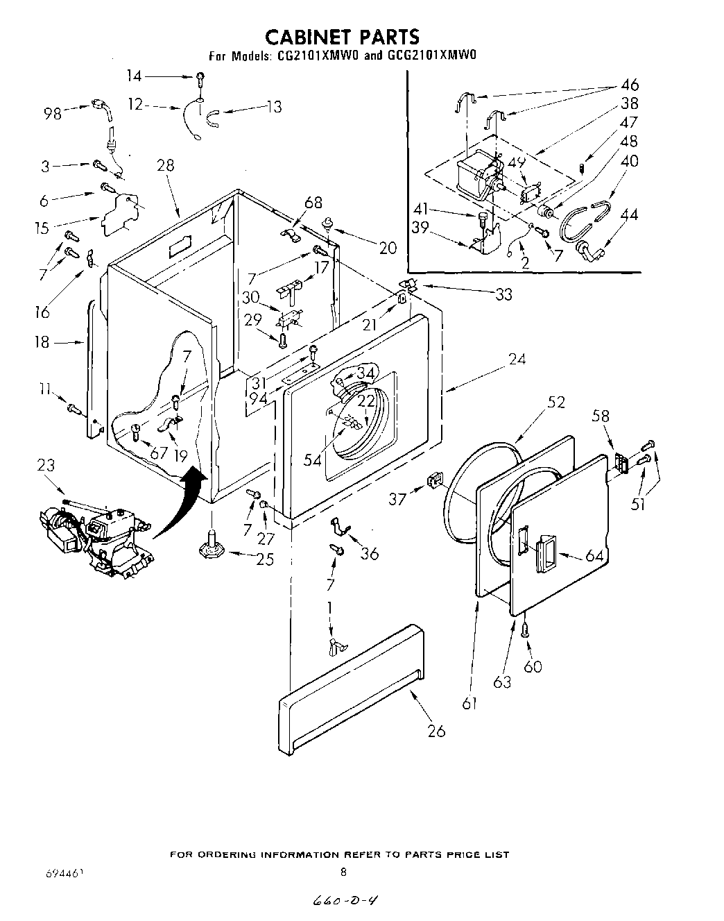
CG2101XMW0 06 – CABINET