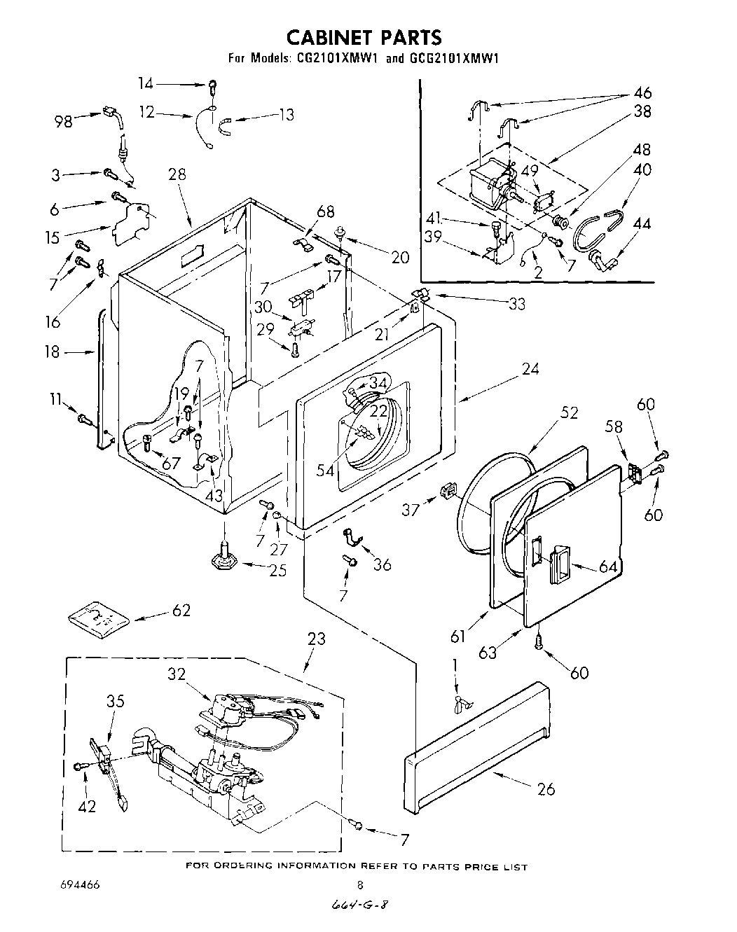
CG2101XMW1 06 – CABINET

CG2101XMW1 06 – CABINET