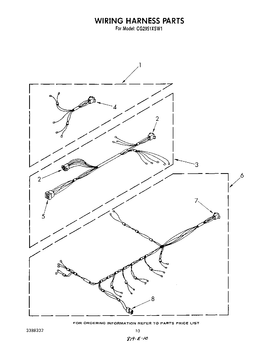
| 1 | Harness, Timer |
| 2 | Plug, Terminal (6 Way) |
| 3 | Harness, Wiring (Upper) |
| 4 | Cap, Terminal (6-Way) (Uses Terminal 94614) |
| 5 | Cap, Terminal (Console Harness) |
| 6 | Harness, Wiring (Lower) |
| 7 | Plug, Mult- Terminal (Uses Terminals 94613) |
| 8 | Receptacle, 3-Way Terminal (Use W/94614) |