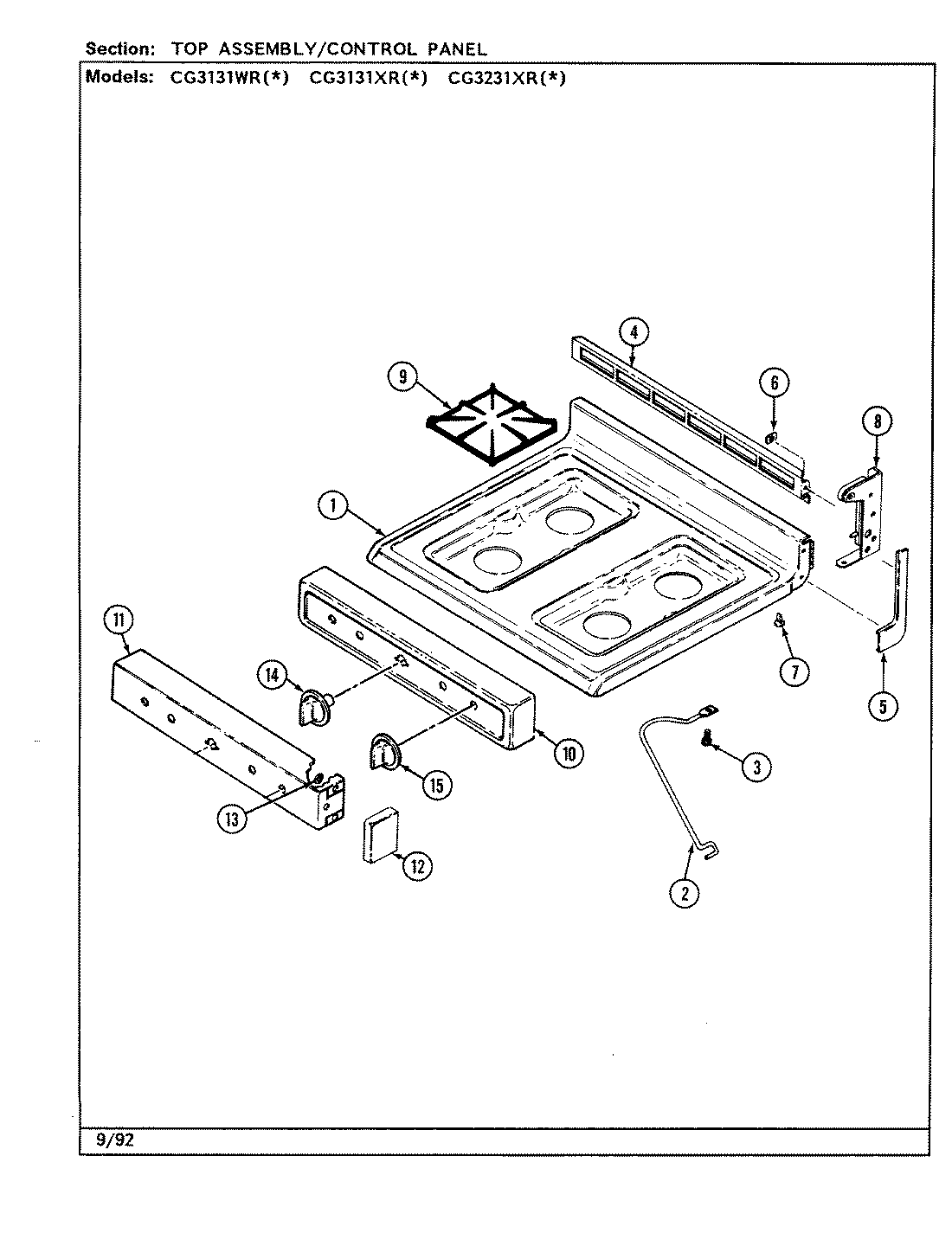
CG3131WRW 05 – TOP ASSEMBLY