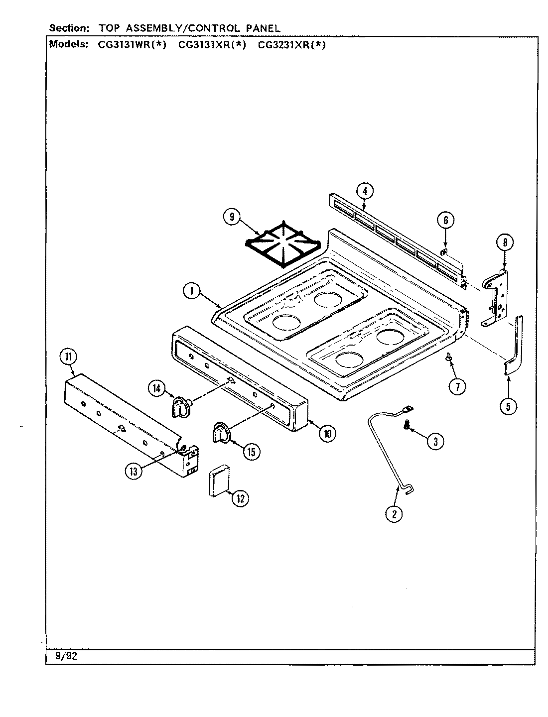
CG3131XRW 05 – TOP ASSEMBLY