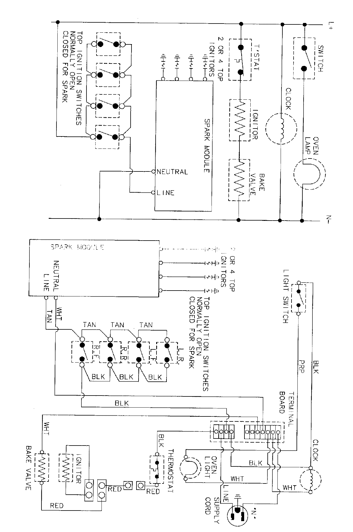
CG31400ADW 07 – WIRING INFORMATIONadmin2025-04-26T09:33:05+00:00CG31400ADW 07 – WIRING INFORMATION ProductsPositionProductNIMAY 15001767