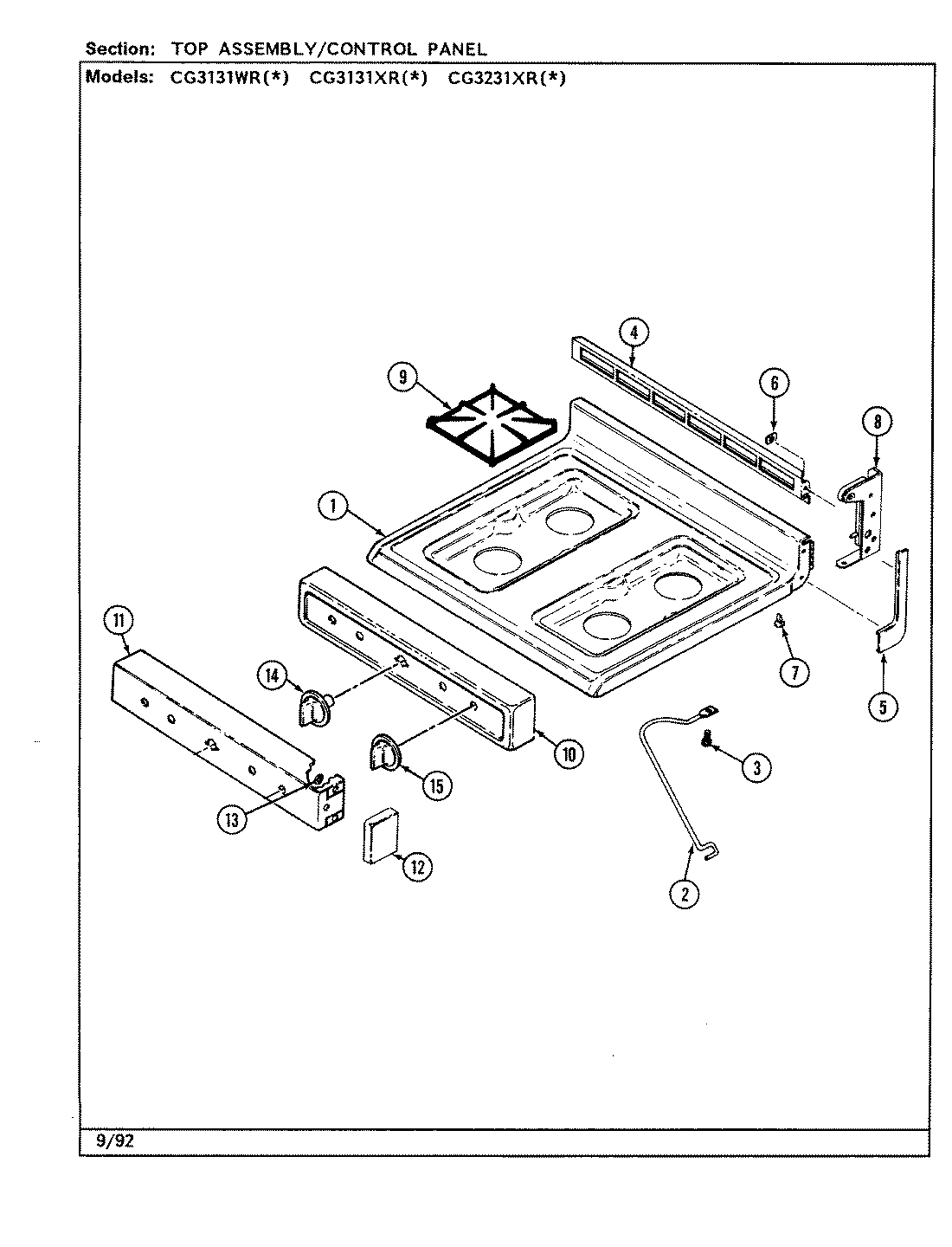
CG3231XRW 05 – TOP ASSEMBLY