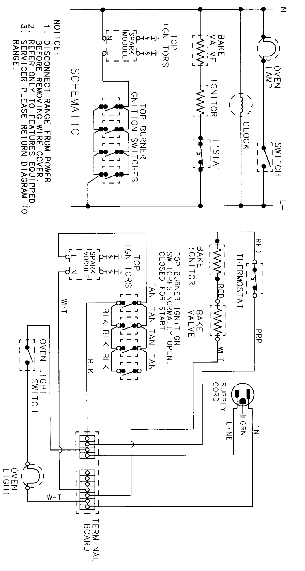
CGL1100ADW 06 – WIRING INFORMATIONadmin2025-04-26T09:35:09+00:00CGL1100ADW 06 – WIRING INFORMATION ProductsPositionProductNIMAY 15001858