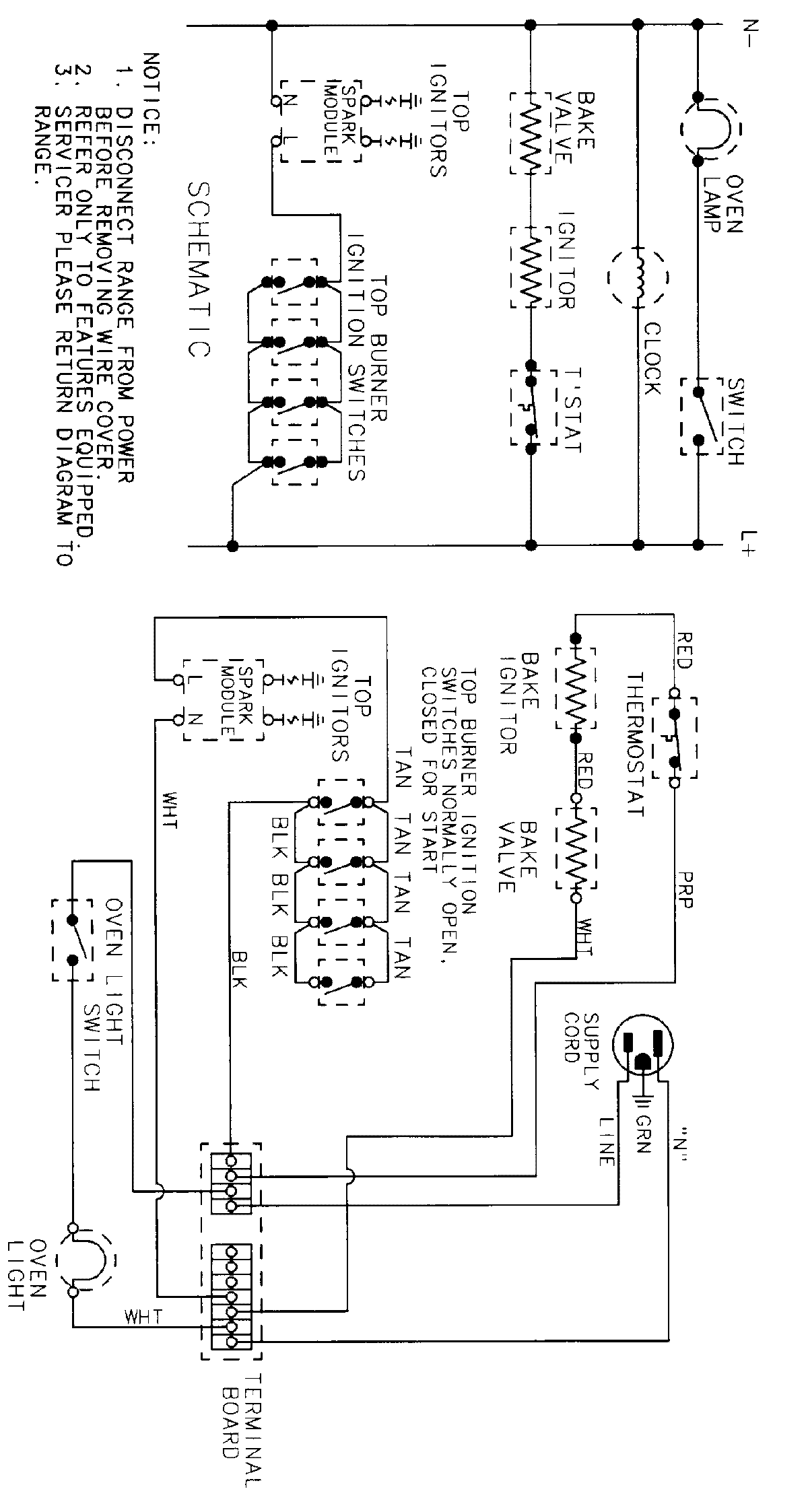
CGL1120ADT 05 – WIRING INFORMATIONadmin2025-04-26T09:38:00+00:00CGL1120ADT 05 – WIRING INFORMATION ProductsPositionProductNIMAY 15001858