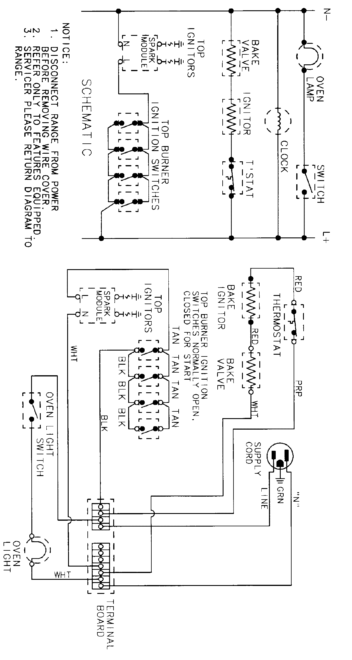
CGL1125ADH 05 – WIRING INFORMATIONadmin2025-04-26T09:35:34+00:00CGL1125ADH 05 – WIRING INFORMATION ProductsPositionProductNIMAY 15001858