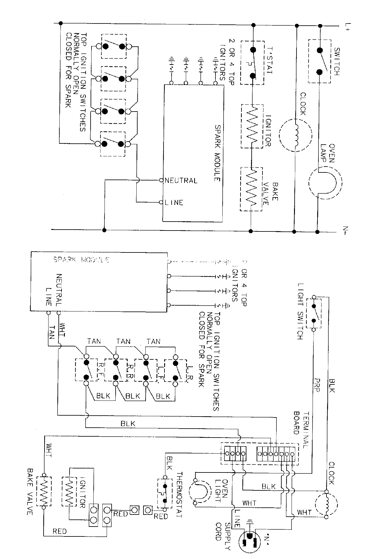
CGR1320BDW 07 – WIRING INFORMATIONadmin2025-04-26T09:36:55+00:00CGR1320BDW 07 – WIRING INFORMATION ProductsPositionProductNIMAY 15001767