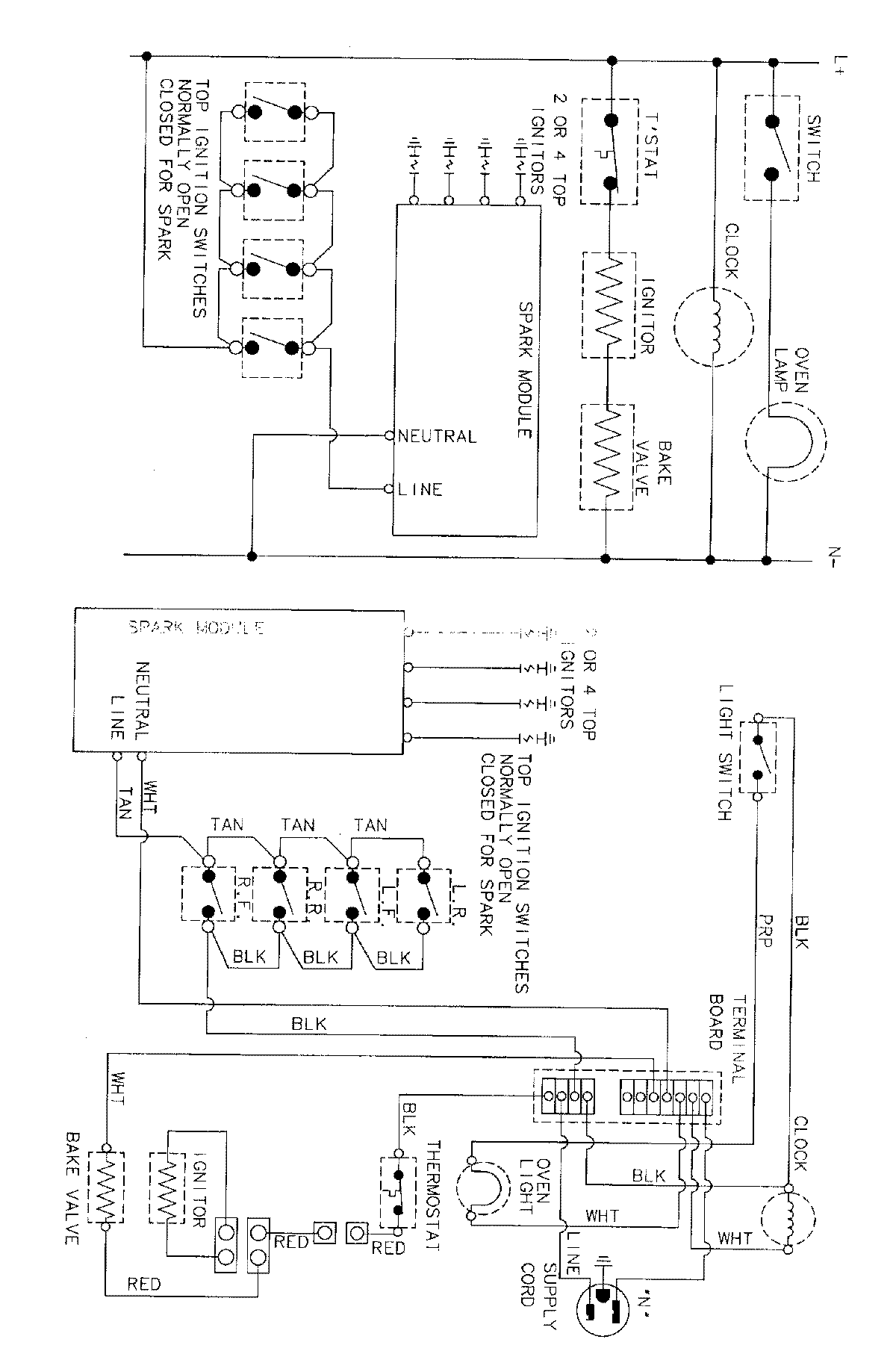
CGR1415ADH 07 – WIRING INFORMATIONadmin2025-04-26T09:35:50+00:00CGR1415ADH 07 – WIRING INFORMATION ProductsPositionProductNIMAY 15001767