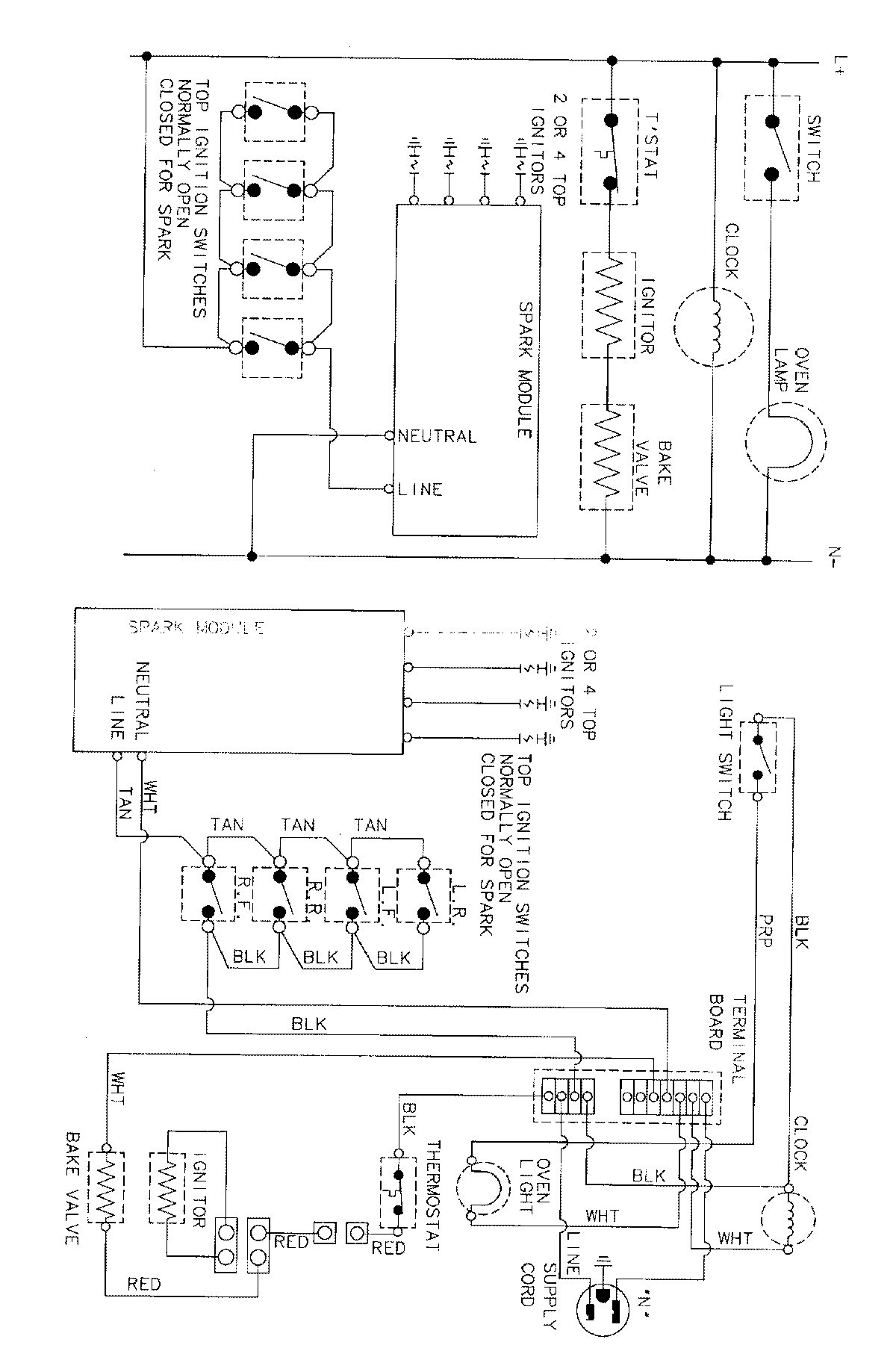
CGR1420BDQ 07 – WIRING INFORMATIONadmin2025-04-26T09:35:29+00:00CGR1420BDQ 07 – WIRING INFORMATION ProductsPositionProductNIMAY 15001767