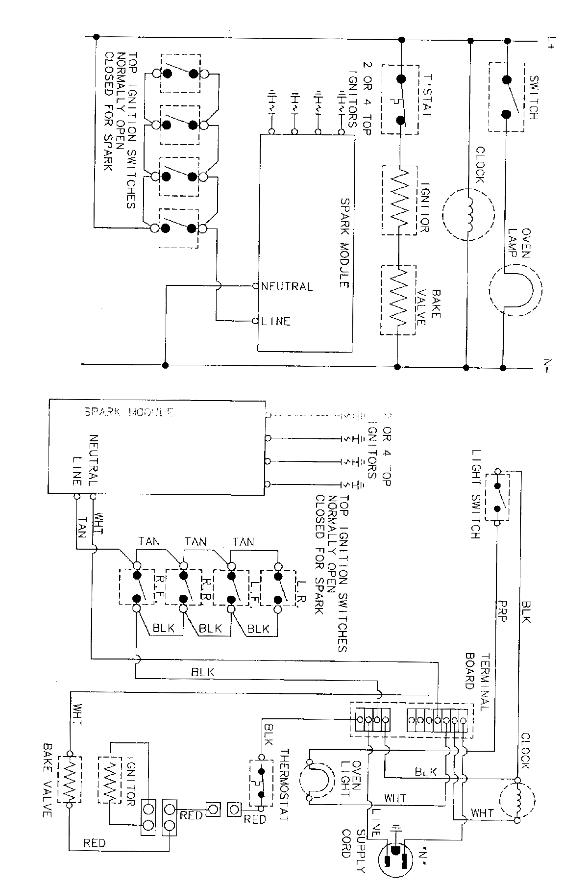
CGR1420BDW 07 – WIRING INFORMATIONadmin2025-04-26T09:35:03+00:00CGR1420BDW 07 – WIRING INFORMATION ProductsPositionProductNIMAY 15001767