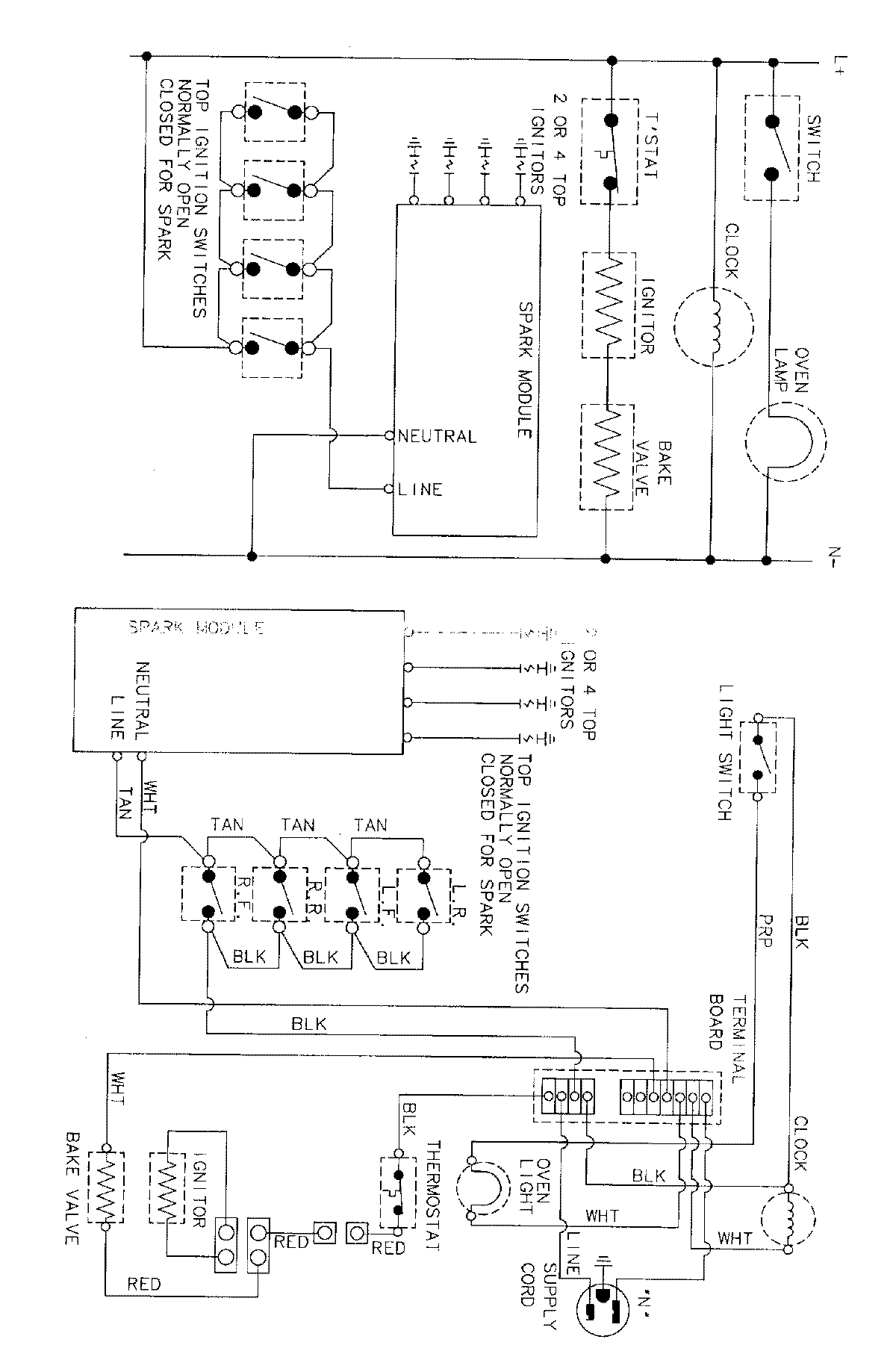
CGR1430BDH 07 – WIRING INFORMATIONadmin2025-04-26T09:34:52+00:00CGR1430BDH 07 – WIRING INFORMATION ProductsPositionProductNIMAY 15001767