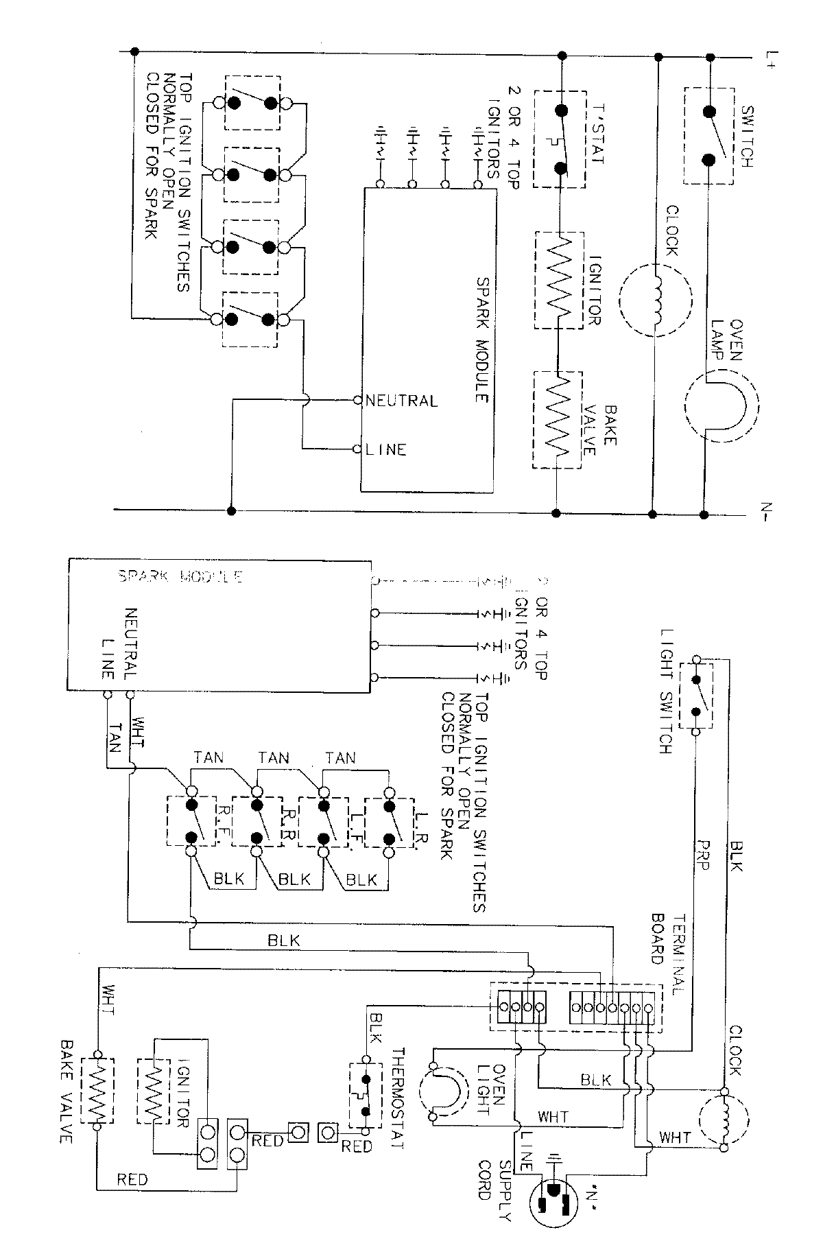
CGR1430BDT 07 – WIRING INFORMATIONadmin2025-04-26T09:37:27+00:00CGR1430BDT 07 – WIRING INFORMATION ProductsPositionProductNIMAY 15001767