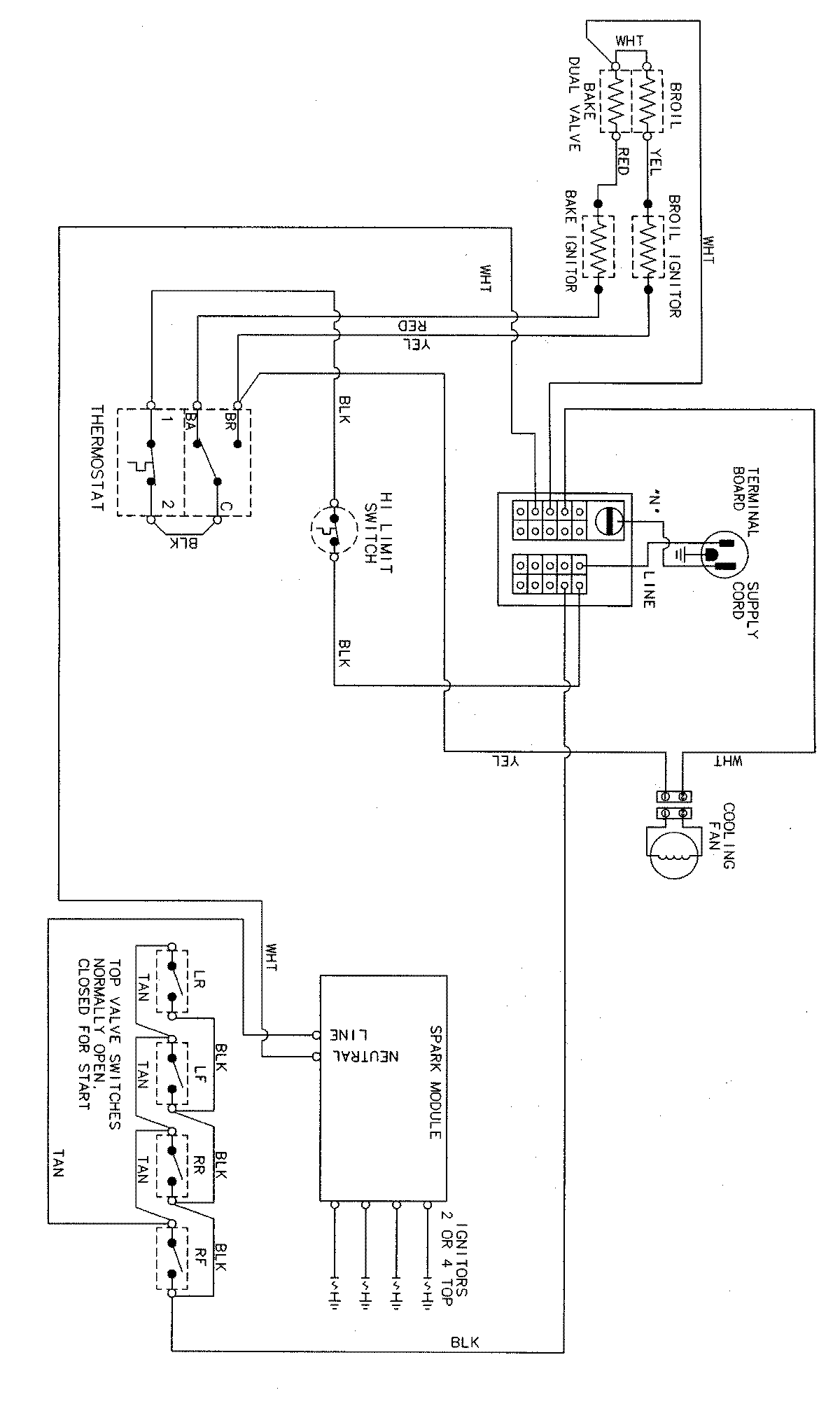
CGS1230ADT 05 – WIRING INFORMATION

CGS1230ADT 05 – WIRING INFORMATION

Products

PositionProduct
NIMAY 15002575