| Instruction, Installation |
| Guide, Use & Care |
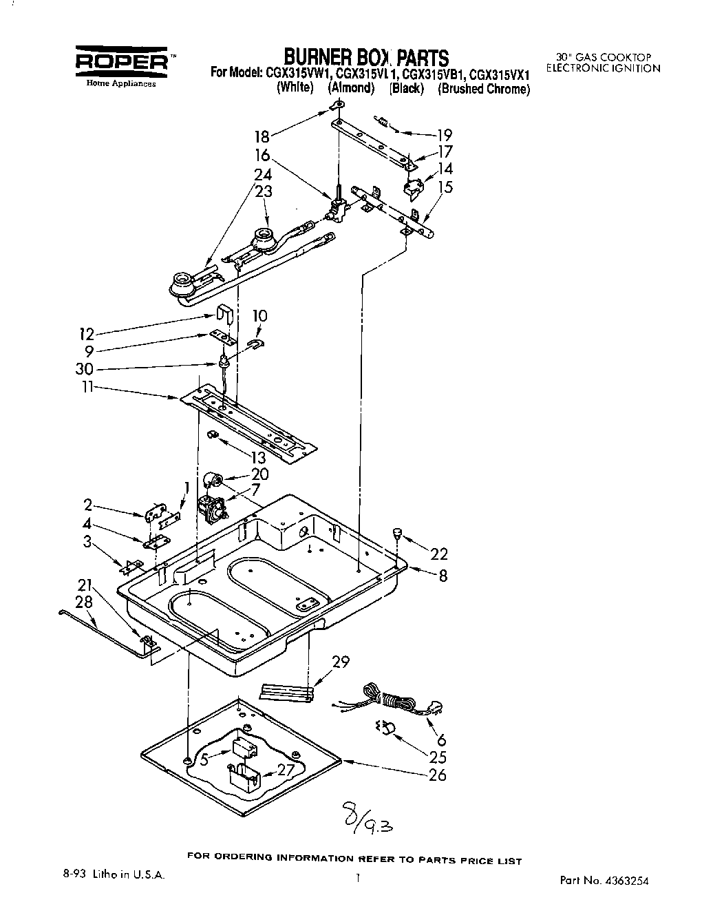
| 1 | Plate, Hinge (2) |
| 2 | Hinge, Cooktop (2) |
| 3 | Nut, Hinge (2) |
| 4 | Hinge, Burner Box (2) |
| 5 | Spark Module |
| 6 | Cord, Power |
| 7 | Regulator, Pressure |
| 8 | Burner Box |
| 9 | Bracket, Burner |
| 10 | WPY0070927 Whirlpool Microwave Clip |
| 11 | Support, Burner |
| 12 | Bracket, Electrode (2) |
| 14 | Switch, Burner |
| 15 | Pipe, Manifold |
| 16 | Valve, Burner (4) |
| 17 | Actuator |
| 18 | Cam |
| 19 | Spring |
| 20 | Elbow |
| 21 | Clamp, Rod |
| 22 | Bumper (4) |
| 23 | Burner R.H. (2) |
| 24 | Burner L.H. (2) |
| 25 | Clamp |
| 26 | Shield, Bottom |
| 27 | Box, Electrical |
| 28 | Rod, Support |
| 29 | Raceway |
| 30 | 4157608 Whirlpool Surface Igniter |