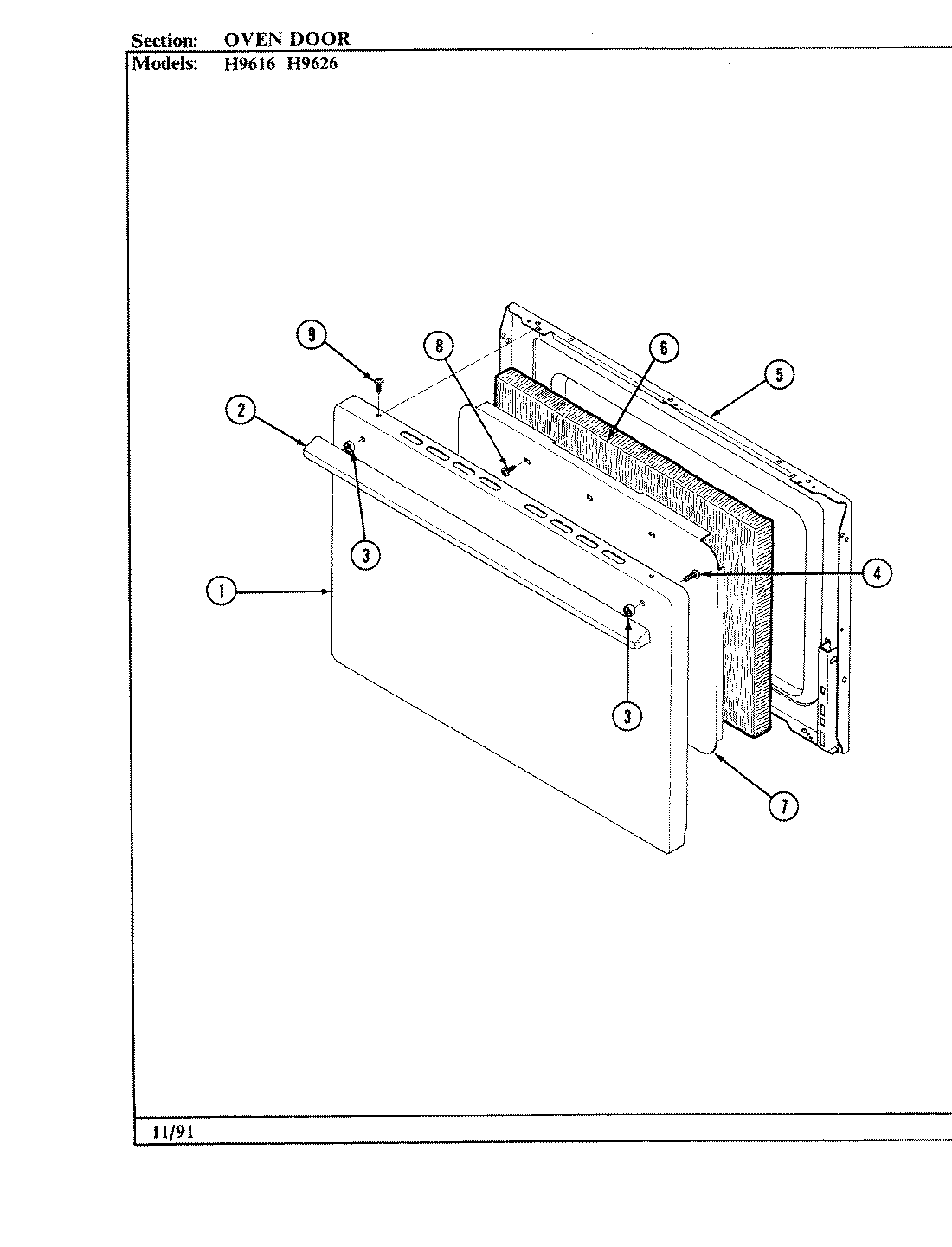
CH9616W79R 04 – DOOR