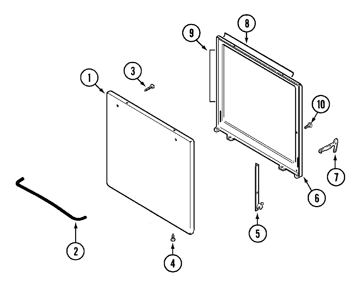
CLY1632BDB 01 – DOOR