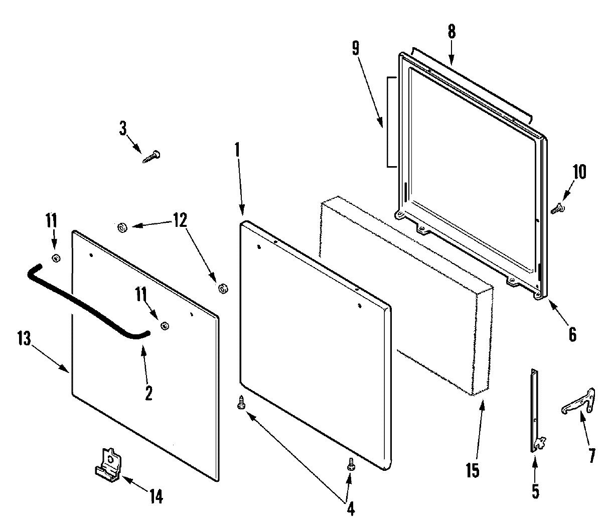
CLY2260BDW 01 – DOOR