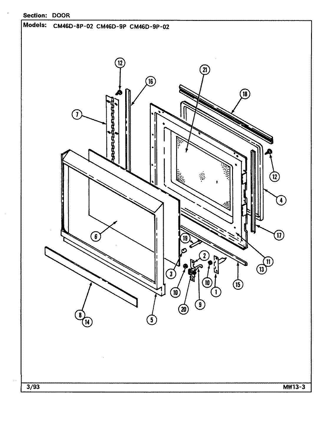
CM46D-8P-02 03 – DOORadmin2025-04-26T11:45:28+00:00CM46D-8P-02 03 – DOOR ProductsPositionProduct1MAY Y020301172MAY Y020301163MAY Y021001354MAY Y021000805MAY 040212626MAY Y022200826MAY 021201517MAY Y022000178MAY 021001059MAY 0219005610MAY Y0305004111MAY 0402137712MAY Y0301012113MAY Y0301011814MAY Y0301013515MAY 0212011416MAY Y0212012117MAY Y0212012218MAY Y0312006418MAY 0212015319MAY Y0312006920MAY Y0222007320MAY Y03180023