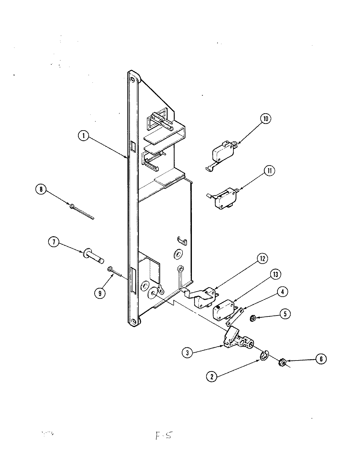
CM46D-8P-02 04 – INTERLOCK SWITCHES