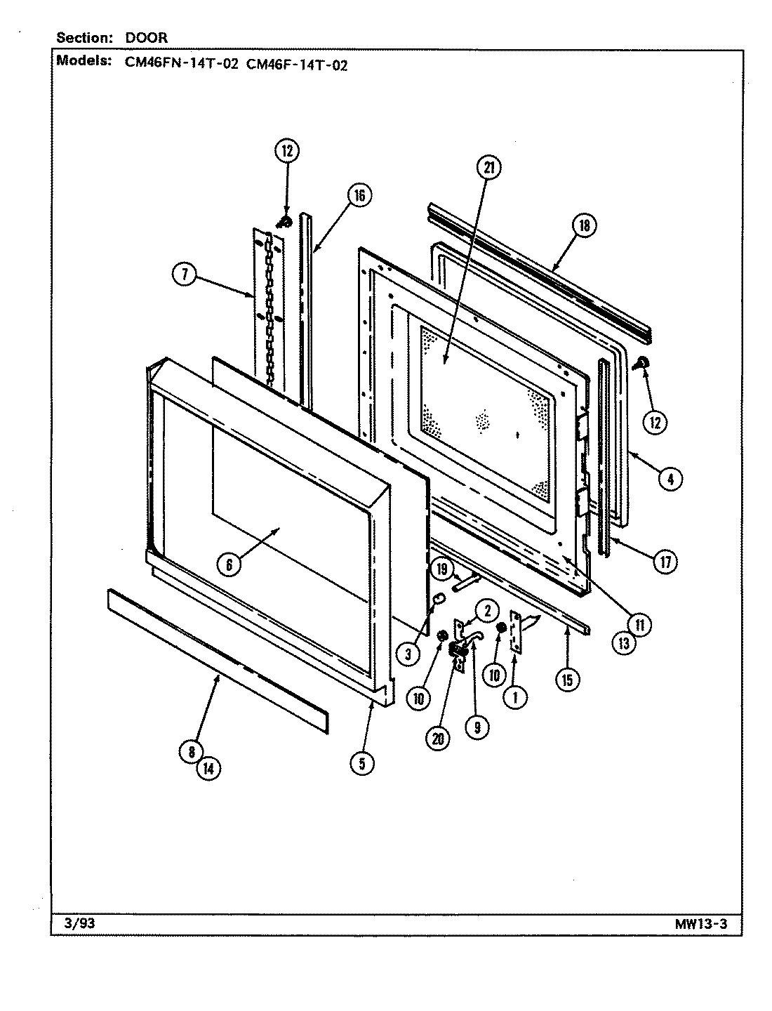
CM46FN-14T-02 03 – DOORadmin2025-04-26T11:44:52+00:00CM46FN-14T-02 03 – DOOR ProductsPositionProduct1MAY Y020301172MAY Y020301163MAY Y021001354MAY Y021000805MAY 040214616MAY 021201666MAY 022201077MAY Y022000178MAY Y021001969MAY Y022407829MAY 0219005610MAY Y0305004111MAY 0402137712MAY Y0301012113MAY Y0301011814MAY Y0301013515MAY 0212011416MAY Y0212012117MAY Y0212012218MAY 0212015318MAY Y0312006419MAY Y0312006920MAY Y0222007320MAY Y03180023