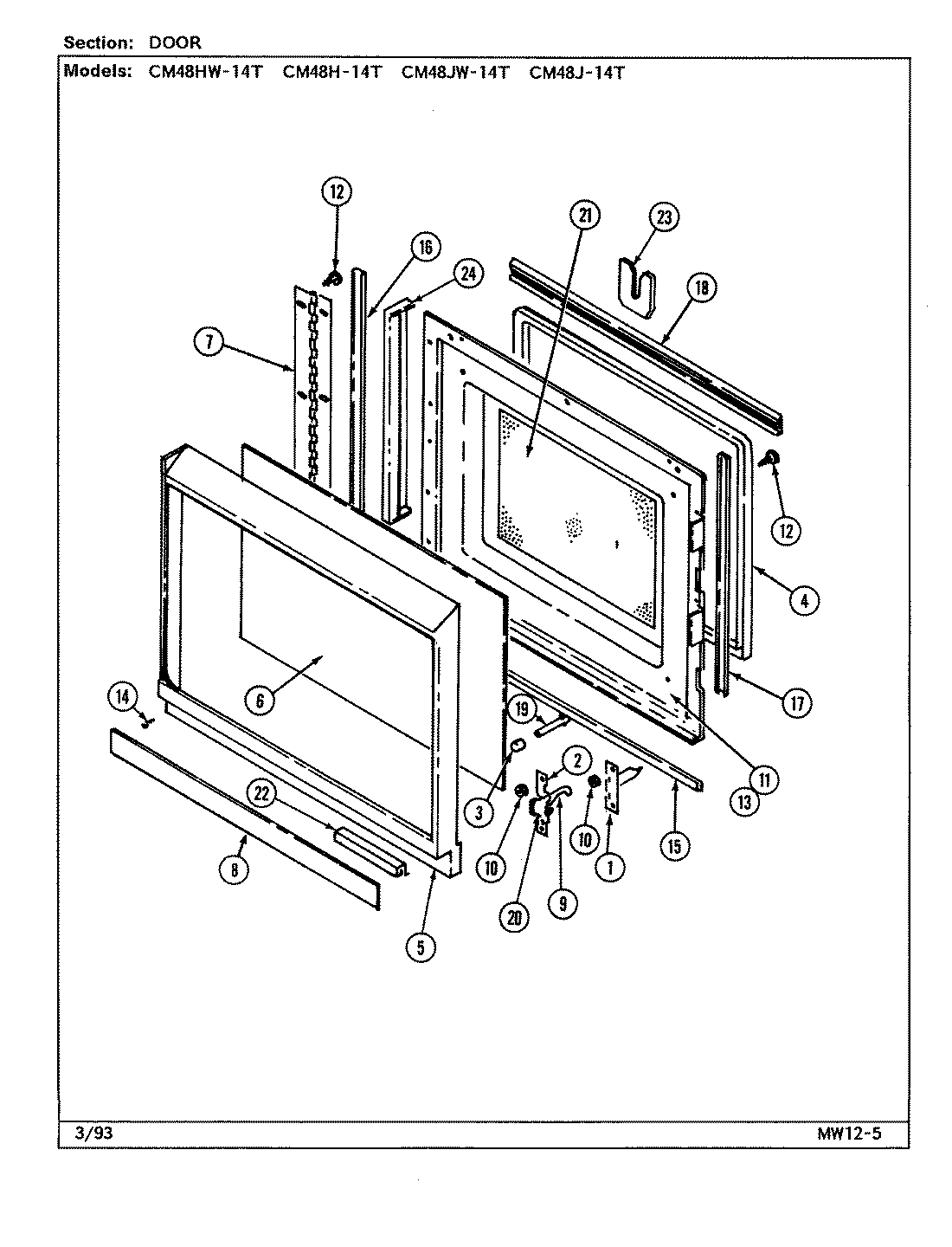
CM48JW-14T 03 – DOORadmin2025-04-26T11:43:36+00:00CM48JW-14T 03 – DOOR ProductsPositionProduct1MAY Y020301172MAY Y020301163MAY Y021002674MAY Y021001665MAY 021002466MAY 022201127MAY 022000218MAY Y021002239MAY 0219005610MAY Y0305004111MAY 0402154912MAY Y0301015713MAY Y0301011814MAY Y0301013515MAY 0212011416MAY Y0212012117MAY Y0212012218MAY 0212015319MAY Y0312006920MAY Y0318002321MAY Y0222007322MAY 0212016623MAY Y0312006424MAY 02100247