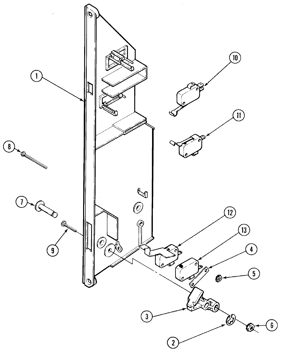
CME8010AAE 04 – INTERLOCK SWITCHESadmin2025-04-26T11:45:03+00:00CME8010AAE 04 – INTERLOCK SWITCHES ProductsPositionProduct1MAY Y020301332MAY 031100403MAY 021900494MAY Y011000434MAY Y021800165MAY Y030500016MAY 030500037MAY Y030700318MAY 030101179MAY 030101149MAY 0402154610MAY Y0114003811MAY Y0114003012MAY 0114006813MAY Y01140043