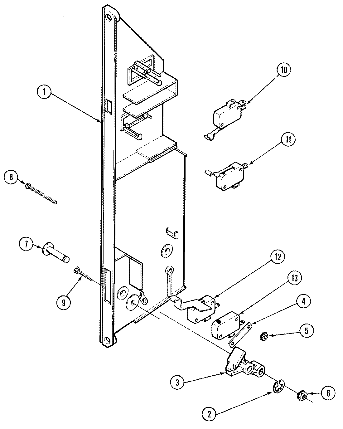
CMW419PD 04 – INTERLOCK SWITCHESadmin2025-04-26T11:47:52+00:00CMW419PD 04 – INTERLOCK SWITCHES ProductsPositionProduct2MAY 031100403MAY 021900494MAY Y011000435MAY Y030500016MAY 030500037MAY Y030700318MAY 030101319MAY 030100149MAY 040215469MAY 0402113310MAY Y0114003811MAY Y0114003012MAY 0114006812MAY Y0114004213MAY Y01140043