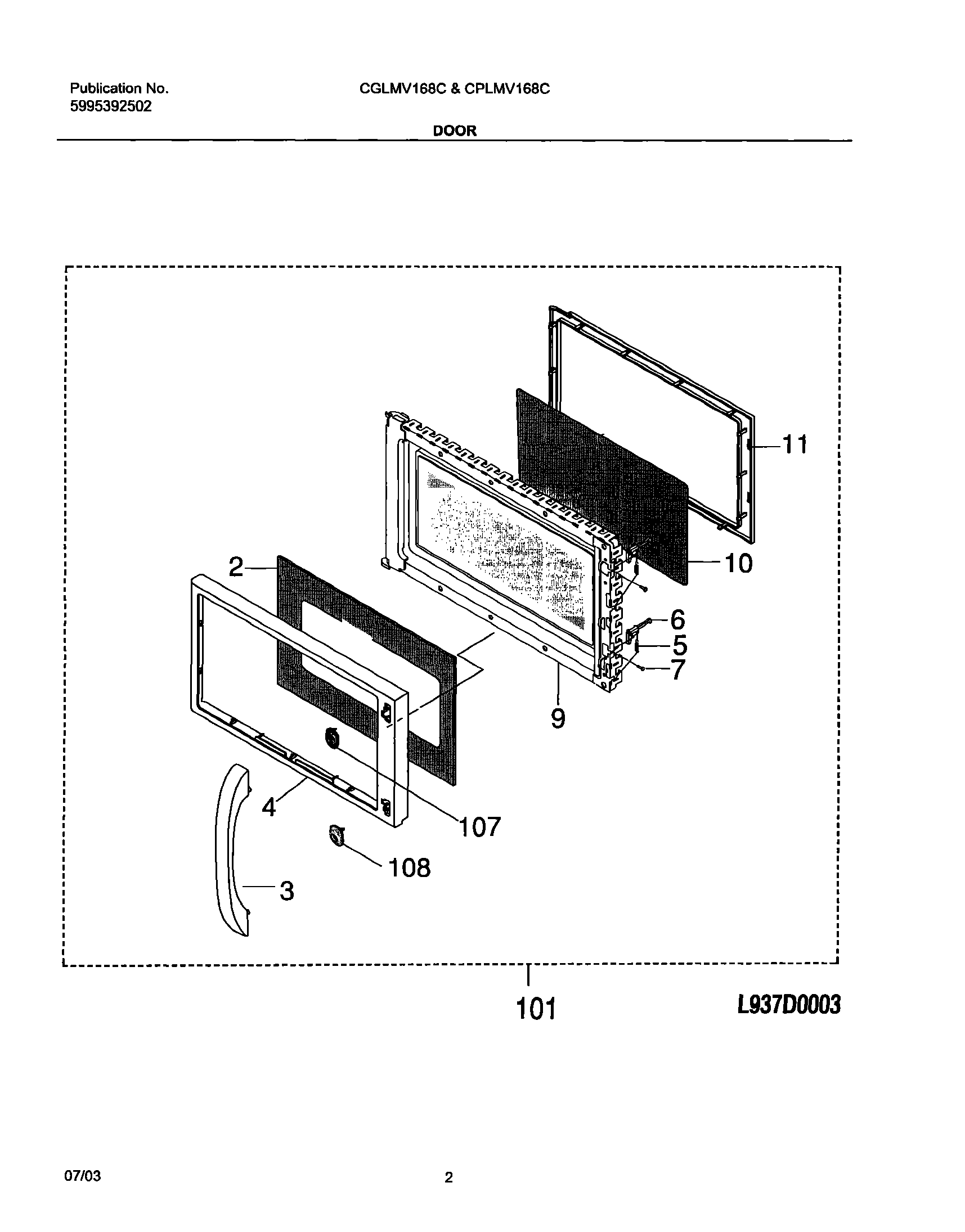
CPLMV168CC1 03 – DOORadmin2025-04-26T08:48:09+00:00CPLMV168CC1 03 – DOOR ProductsPositionProduct2WCI 53044343143WCI 53044234384Frame,outer door ,black5WCI 53044294056WCI 53044294067WCI 53044294079WCI 530442940810WCI 530440913611WCI 5304429411101WCI 5304434307107WCI 5304423460108WCI 5304423461