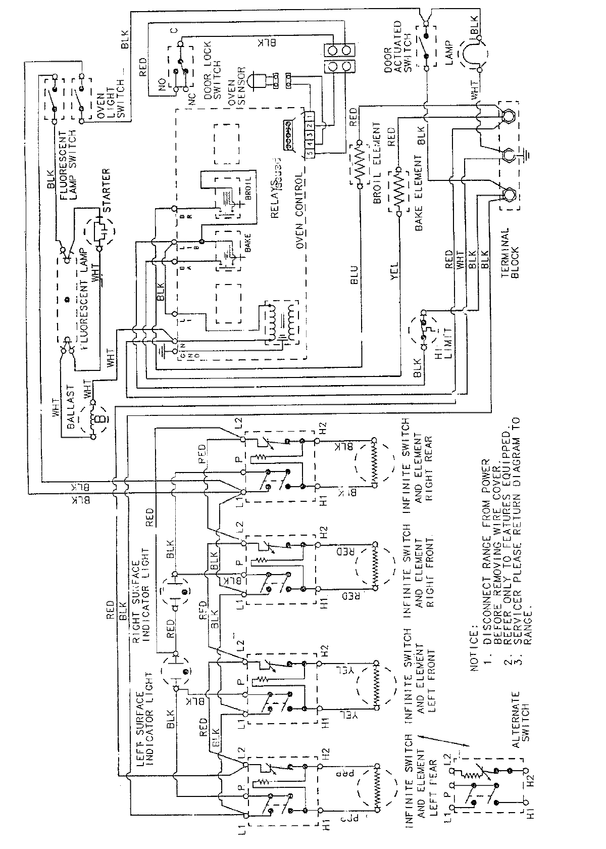
CRE9400BCE 07 – WIRING INFORMATIONadmin2025-04-26T08:56:22+00:00CRE9400BCE 07 – WIRING INFORMATION ProductsPositionProductNIMAY 15001131