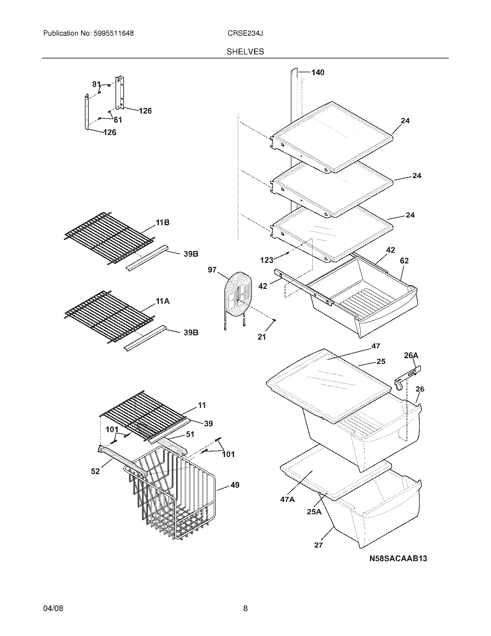
CRSE234JB0 09 – SHELVES