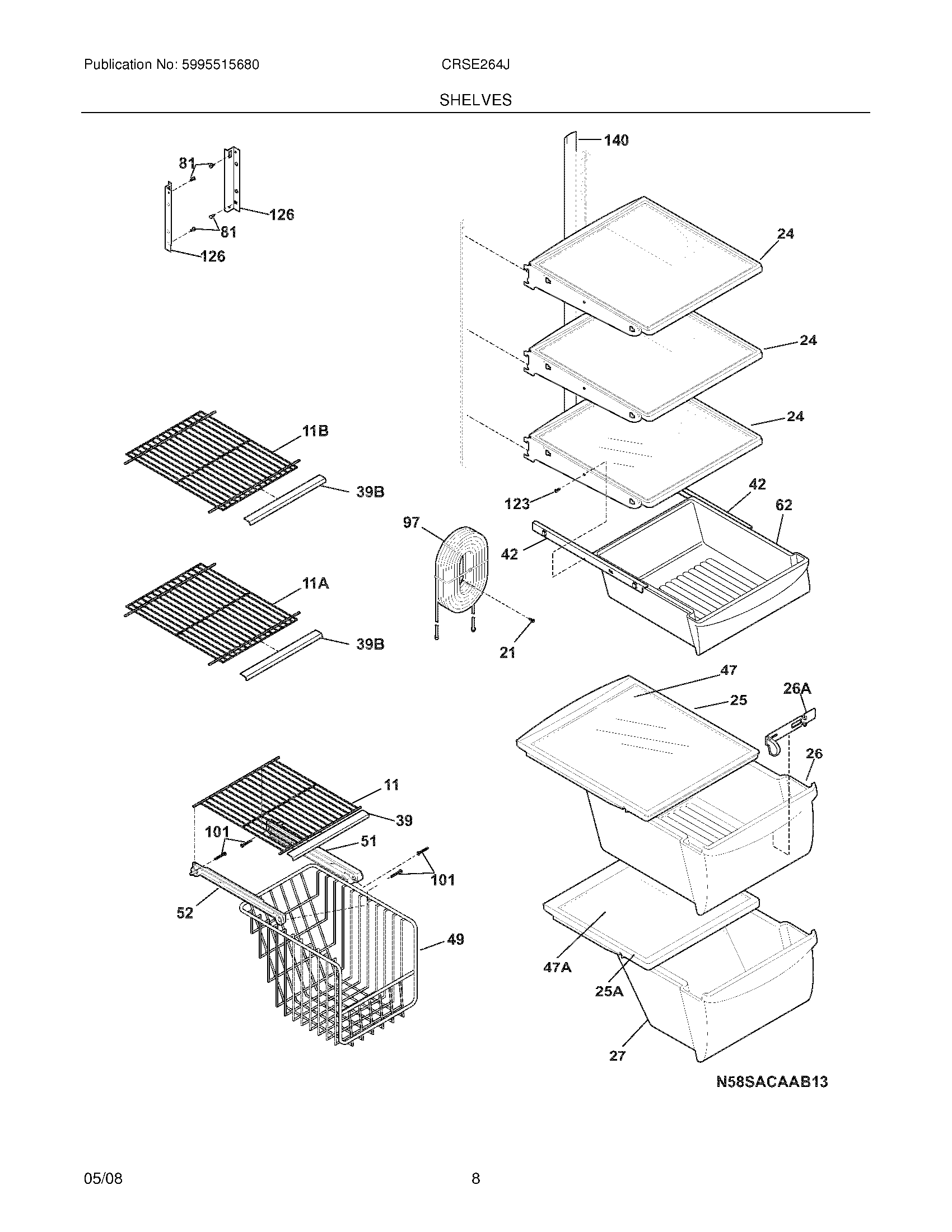
CRSE264JB1 09 – SHELVES