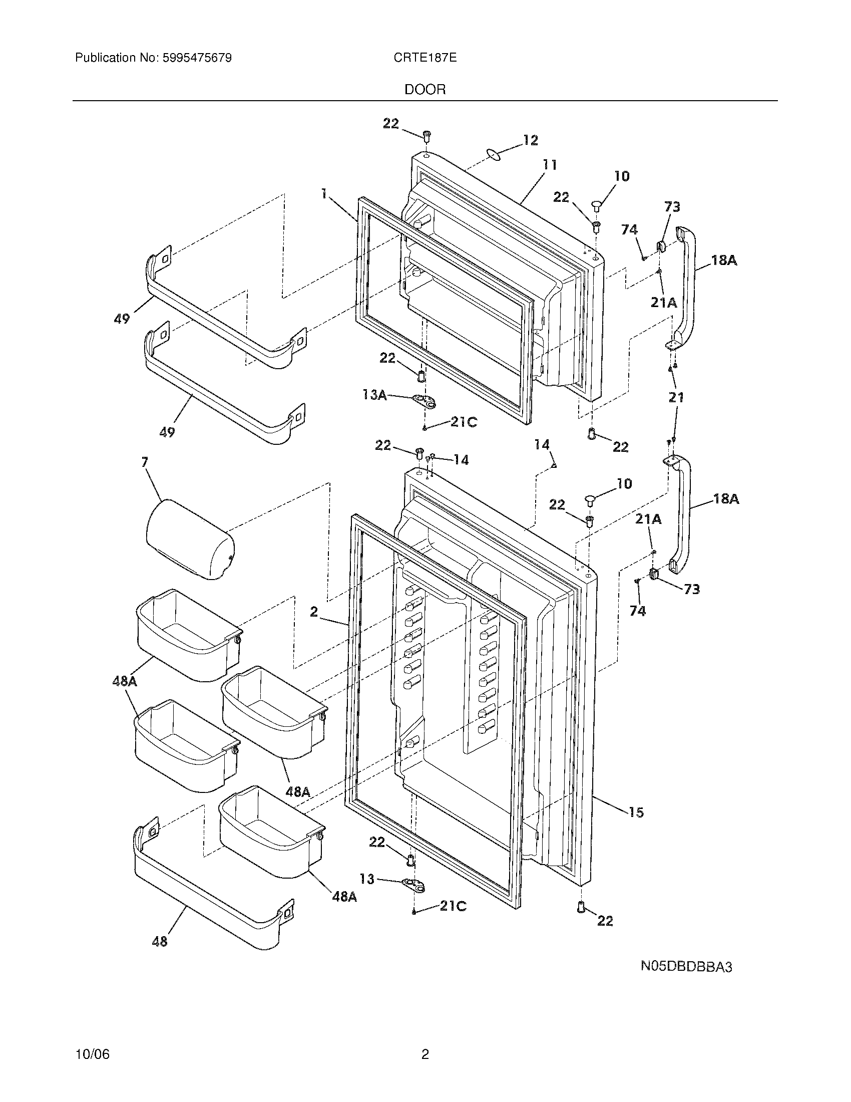
CRTE187EB6 03 – DOOR