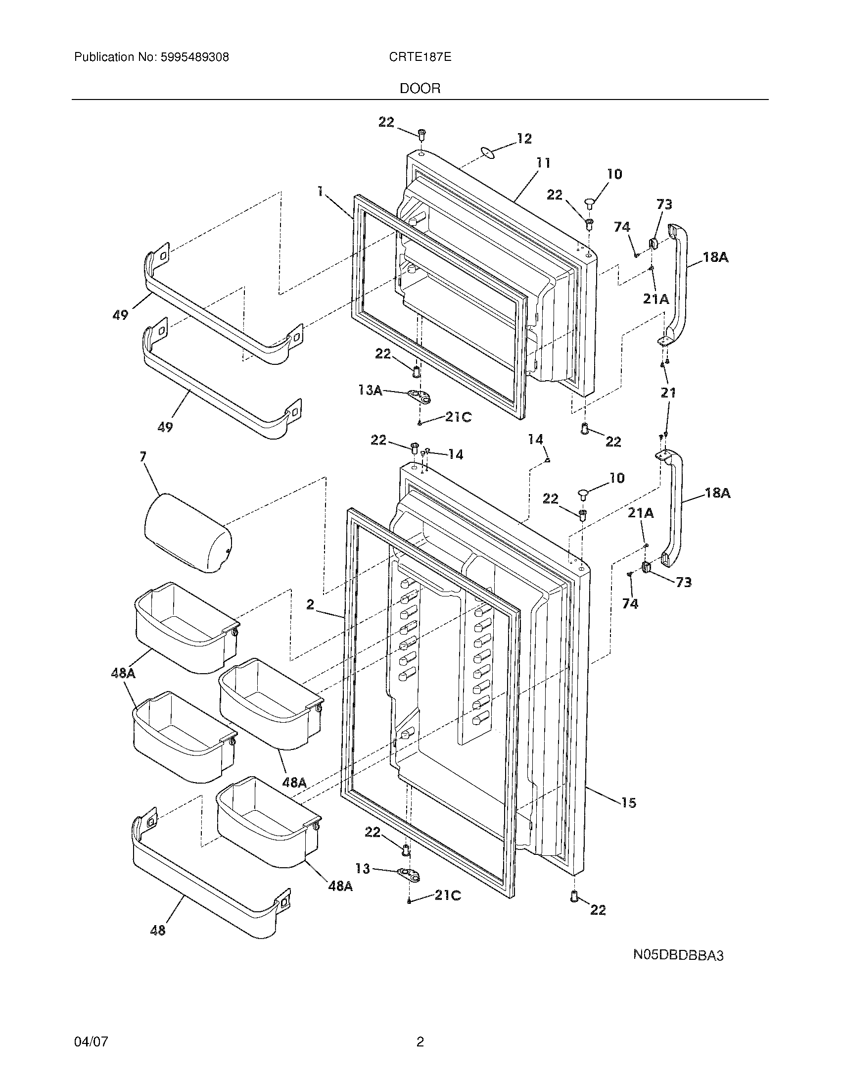
CRTE187EB7 03 – DOOR