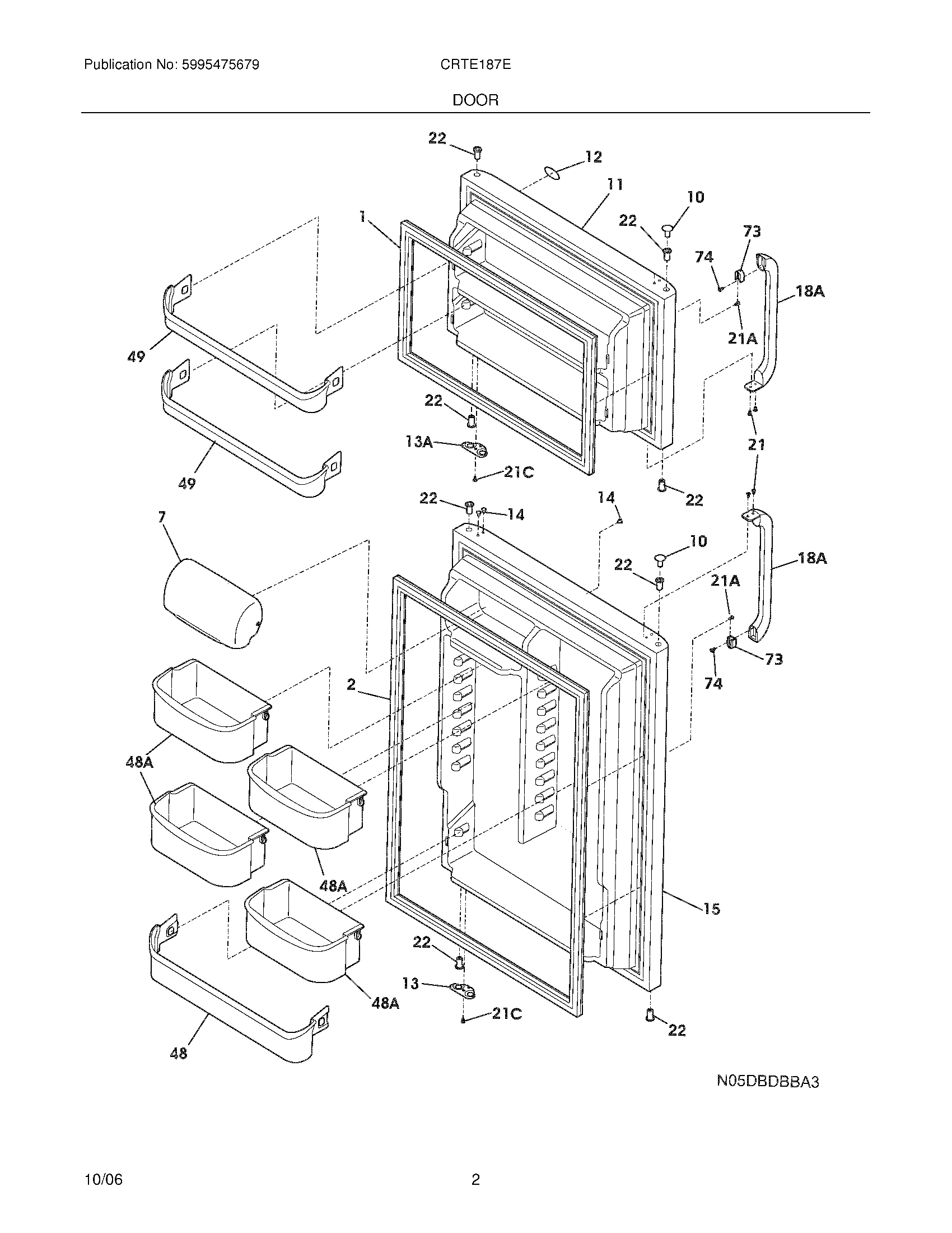
CRTE187EW6 03 – DOOR