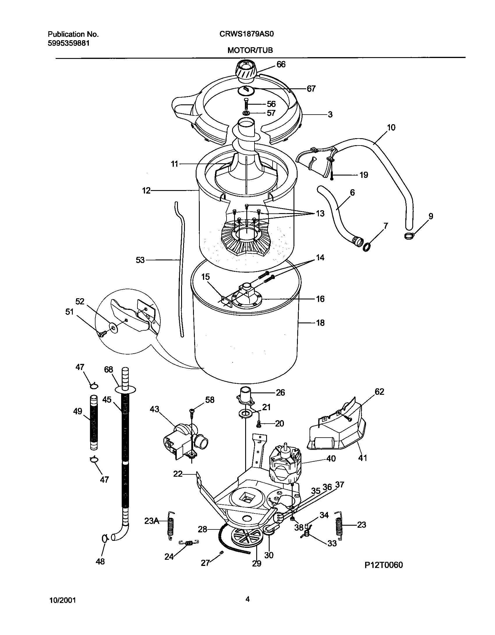
CRWS1879AS0 05 – WSHR MTR,HOSEadmin2025-04-26T08:53:47+00:00CRWS1879AS0 05 – WSHR MTR,HOSE ProductsPositionProductNIINSERT-SPRING ADJNIWCI 131663500NIWCI 131896000NIWCI 131506500NIWCI 131462500NI5303309503 Frigidaire ClipNI131901400 Frigidaire Seal3131551103 Frigidaire Splash Tub Cover P1 O/S165303912532 Frigidaire Hose Inlet 60"75303161296 Frigidaire Washer-Inlet Hose (1Piece)95304488479 Frigidaire Washer Hose Clamp10WCI 13172630311131605901 Frigidaire Washer Agitator Assembly12WCI 13122130013137546400 Frigidaire Screw 5/165-18 X .62514137539500 Frigidaire Washer Trunnion Lock Plate Bolt15137107000 Frigidaire Plate16131545101 Frigidaire Dryer Washer Transmission Trunnion Nut18TUB-SPLASH, W/AIR DOME, BRNG19131205300 Frigidaire Screw203205150 Frigidaire Tub Bearing Screw215308002401 Frigidaire Washer Primary22WCI 13137361023134886600 Frigidaire Spring Primary23A134885900 Frigidaire Spring24WCI 131373900263204405 Frigidaire Outer Tub Spin Bearing275303270023 Frigidaire Screw Set28WASHER BELT29WCI 13149830130WCI 13186290033TORSION SPRING34WCI 3204426353161433 Frigidaire Retainer36WASHER37SPRING WASHER38WCI 530331870840WCI 13189670041WCI 13189990043137221600 Frigidaire Washer Drain Pump45131461200 Frigidaire Washer Drain Hose47131306234 Frigidaire Clamp Pump49131494800 Frigidaire Hose-Pump P1 to Tub51WCI 13165900052WCI 131315800535304401845 Frigidaire Tube Pressure56Screw,agitator mtg ,5/16-18 x 1.25057131339600 Frigidaire P1-Spacer-DISP58WCI 13146490062131302800 Frigidaire Drum Vane Screw66Agitator Cap Assy,dispenser cup ,dual action67Mechanism,disp cap assy ,dual action68131707800 Frigidaire Drain Hose Ring