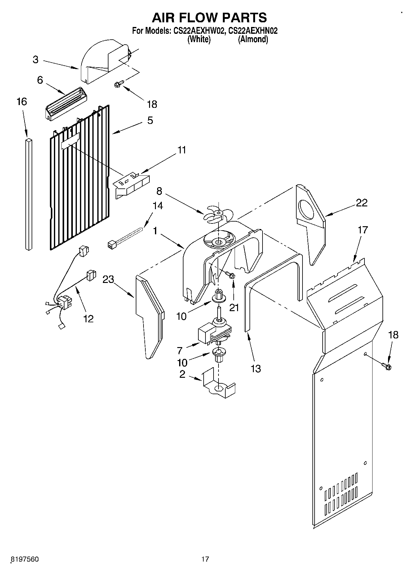
CS22AEXHN02 10 – AIR FLOW