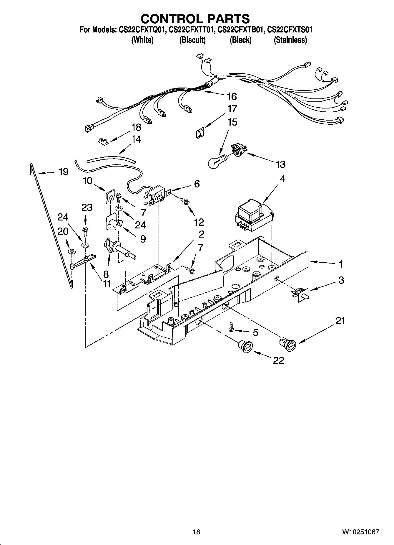
CS22CFXTB01 11 – CONTROL PARTS