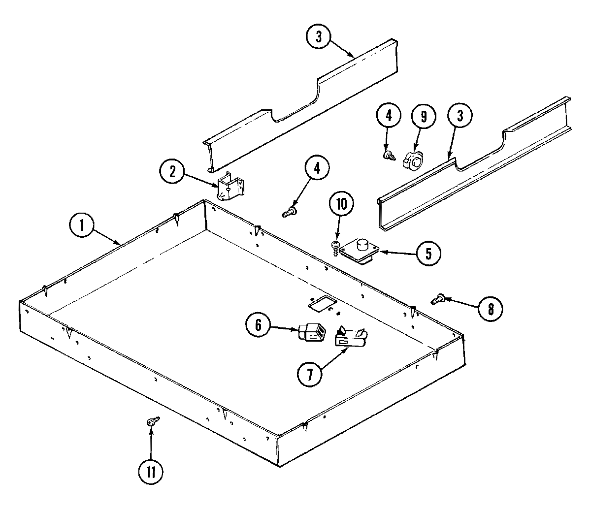
CSE7000ADB 01 – BODYadmin2025-04-26T11:19:44+00:00CSE7000ADB 01 – BODY ProductsPositionProduct1MAY 041004822MAY 041003993MAY 041004854WP90767 Whirlpool Screw5MAY 041005266MAY Y041003947MAY Y7123558MAY Y7035719MAY 0410049710MAY Y71200411MAY 70377311MAY 0410049611MAY 0410049511MAY 0410049411MAY 0410049311MAY 0410049211MAY 0410049111MAY 0410049011MAY Y0410050111MAY 0410052511MAY 70200811MAY 70416511MAY 04100498