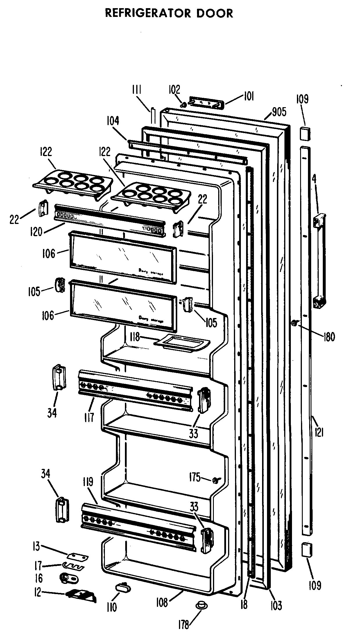
CSF22MBC REFRIGERATOR DOORadmin2025-04-26T08:36:42+00:00CSF22MBC REFRIGERATOR DOOR ProductsPositionProduct4GEN WR12X514012GEN WR02X453713GEN WR02X459913GEN WR01X099313GEN WR02X454016WR2X4901 GE Door Hinge Cam Riser17GEN WR02X604318GEN WR17X116922GEN WR02X5795101GEN WR04X5053102GEN WR02X4990103GEN WR24X0246104GEN WR17X1168105GEN WR02X5798105GEN WR02X5797106GEN WR22X5029108GEN WR77X5376109GEN WR01X5346109GEN WR03X5105109GEN WR03X5106110GEN WR02X4678111GEN WR38X0906118GEN WR19X5003119GEN WR17X5767120GEN WR17X5766121GEN WR02X5800121GEN WR02X5801121GEN WR38X5295122GEN WR02X6318175SCREW SW. CRADLE178GEN WR02X6058180GEN WZ06X0112905GEN WR78X6798