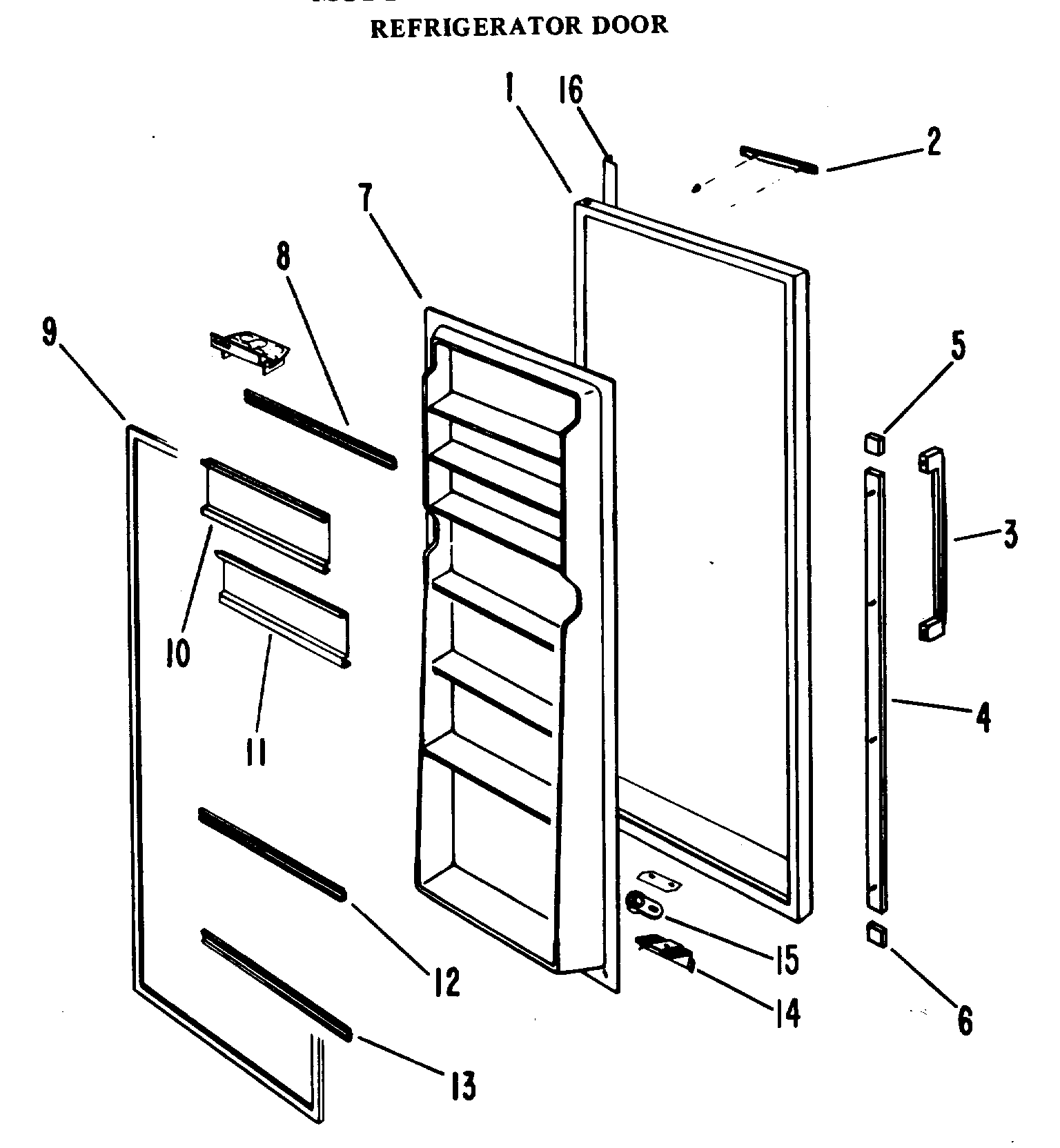
CSF24EMP REFRIGERATOR DOORadmin2025-04-26T08:36:24+00:00CSF24EMP REFRIGERATOR DOOR ProductsPositionProduct1GEN WR78X60701GEN WR78X60711GEN WR78X60721GEN WR78X60692GEN WR04X50372GEN WR01X53443GEN WR12X50993GEN WR01X53453GEN WR01X53474GEN WR01X53554GEN WR03X50844FASTENER4GEN WR01X53465GEN WR12X51026GEN WR12X51057SCREW SW. CRADLE7GEN WR77X53768GEN WR02X57958GEN WR02X60388GEN WR71X56659GEN WR17X11699GEN WR24X02469GEN WR17X116810GEN WR02X603911GEN WR02X505611GEN WR02X505511GEN WR02X604011GEN WR19X500311GEN WR02X505411GEN WR02X579811GEN WR02X579712GEN WR71X566613GEN WR71X566713GEN WR02X580013GEN WR02X580114GEN WR02X454014GEN WZ06X010514GEN WR01X099314GEN WR02X453715WR13X10020 GE Refrigerator Door Hinge Assembly with Cam15GEN WR02X604316FASTENER - TRIM16GEN WR38X0840