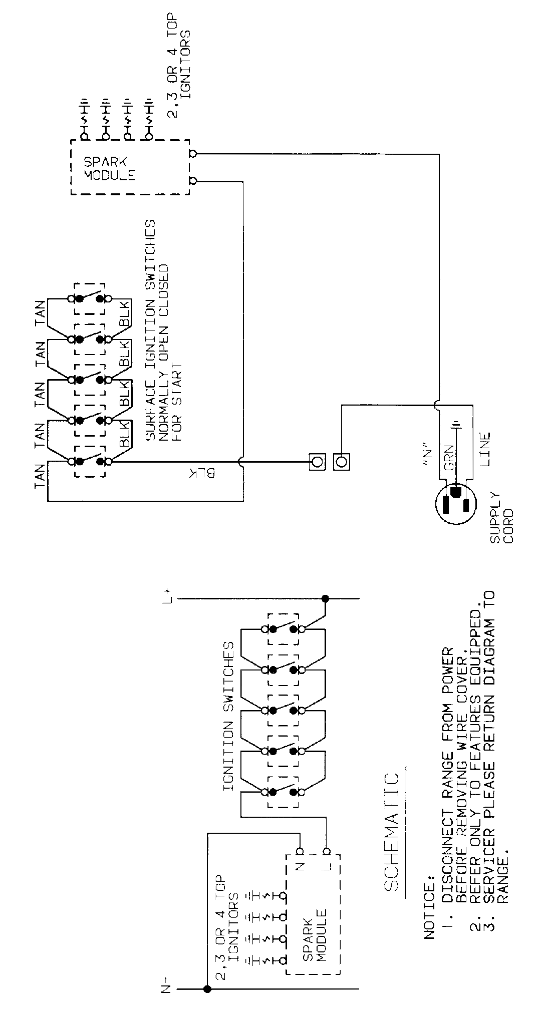
CSG6000BAW 04 – WIRING INFORMATIONadmin2025-04-26T11:20:56+00:00CSG6000BAW 04 – WIRING INFORMATION ProductsPositionProductNIMAY 15001198