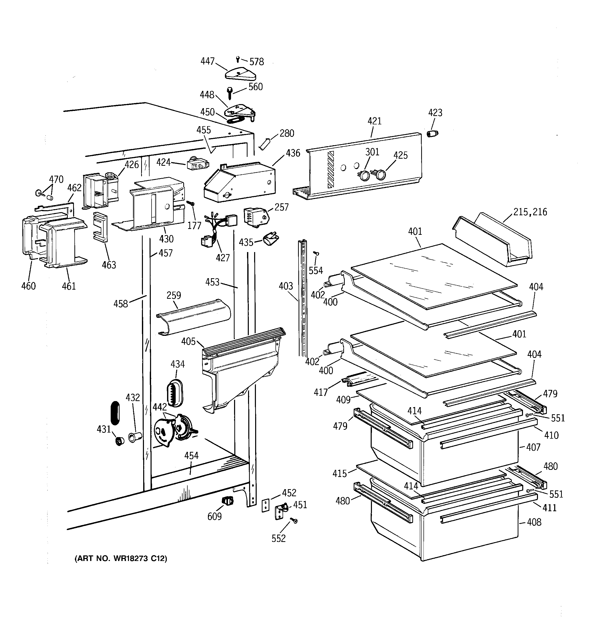
CSK20GABBAD FRESH FOOD SECTION