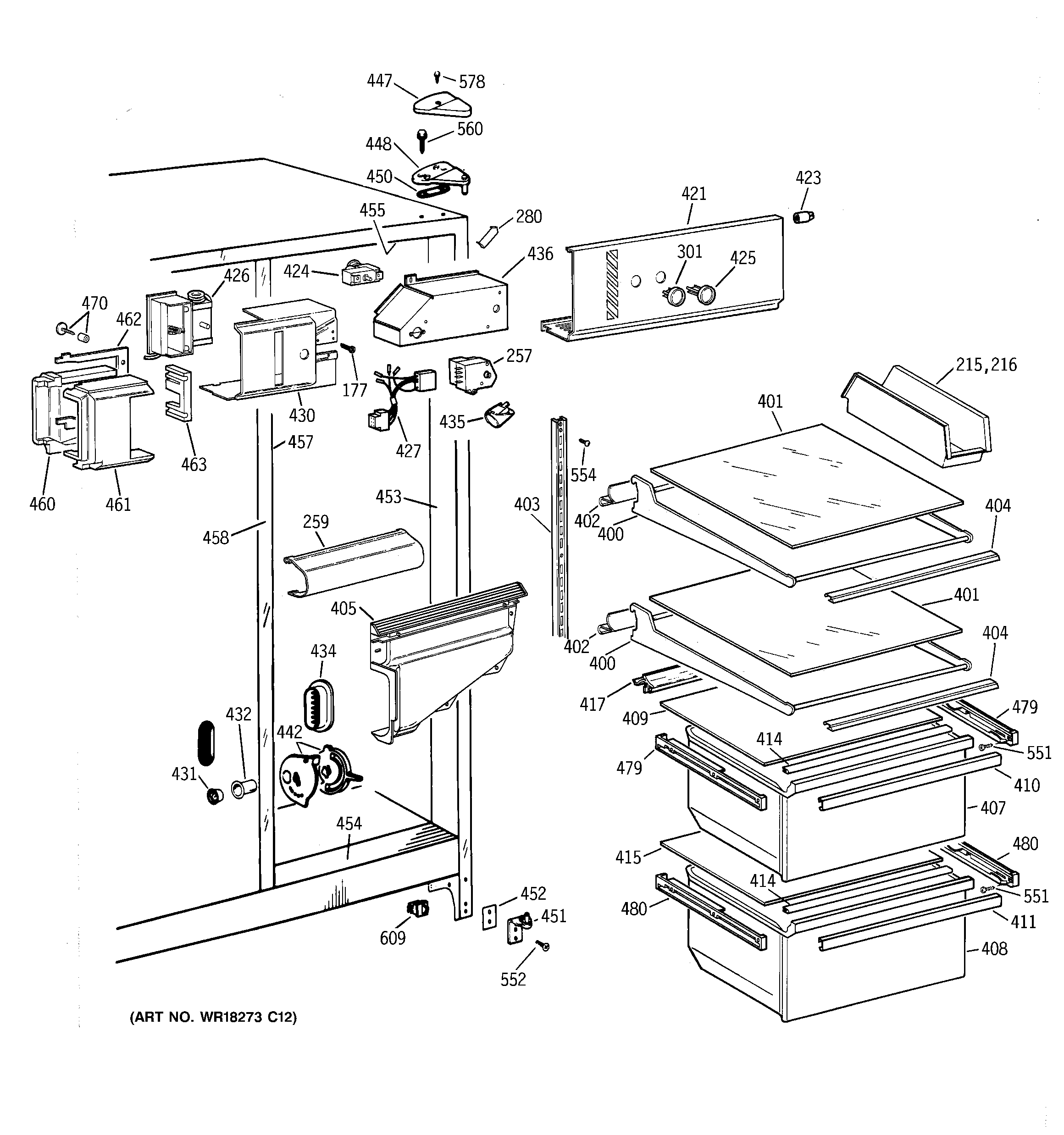
CSK20GABCAA FRESH FOOD SECTIONadmin2025-04-26T08:37:00+00:00CSK20GABCAA FRESH FOOD SECTION ProductsPositionProduct177SCREW215GEN WR32X0897216GEN WR32X1575257GEN WR09X0601259GEN WR17X4069280GEN WR02X8519301GEN WR02X9215400GEN WR71X2290401GEN WR32X1535402GEN WR38X2221403GEN WR72X0255404GEN WR38X2222405GEN WR14X0264405GEN WR17X1382407GEN WR32X1178408GEN WR32X1177409GEN WR32X1534410GEN WR17X4100411GEN WR17X4101414GEN WR14X0444415GEN WR32X1105417GEN WR14X10007421GEN WR17X4070423GEN WR02X6347423GEN WR02X10050424GEN WR09X0530424GEN WR02X8914425GEN WR02X9216426GEN WR09X0568427GEN WR23X0444430GEN WR17X3416431WR2X9299 GE Refrigerator Air Duct Cap Mullion432GEN WR02X8654434GEN WR02X9431435WR2X9014 GE Refrigerator Socket & Terminal C02435WR02X12207 GE Refrigerator Net Bulb Light436GEN WR02X8909442GEN WR02X10042447GEN WR02X8263448GEN WR13X10054450GEN WR02X4194451WR13X10020 GE Refrigerator Door Hinge Assembly with Cam453GEN WR40X1757454GEN WR40X1758455GEN WR40X1759457GEN WR40X1748458GEN WR02X10334458GEN WR02X9376458GEN WR40X1751460GEN WR02X8911461GEN WR02X8910461GEN WZ06X0136462GEN WR14X0442463GEN WR82X0338470GEN WR01X1929479GEN WR72X10010479GEN WR72X10009480GEN WR72X10007480GEN WR72X10008551GEN WZ04X0244552WR01X10600 GE Refrigerator Screw 12-24 Tapping Hex .811 S Z554WR01X10601 GE Refrigerator Screw 10-24 TT IHXW560GEN WR01X2140578WZ2X464D GE Screw609WR23X37285 GE Light Switch